مهر و موم های هیدرولیک برای سوراخ های پیستون ، در کارخانه و مرکز تحقیق و توسعه ما ، مدل ها و انواع تقسیم شده ای وجود دارد که هر کدام از آنها ویژگی های خاص خود را دارند ، اما ما به کنترل کیفیت دقیق رسیده ایم.
RC61 و RC62 از یک حلقه آب بندی مستطیل شکل PTFE پر شده و یک حلقه لاستیکی O شکل ، مناسب برای آب بندی فشار دو طرفه با حرکت متقابل هیدرولیک تشکیل شده اند. RC61-B از یک حلقه مهر و موم پله پله PTFE پر شده و یک حلقه لاستیکی O شکل ، مناسب برای مهر و موم فشار یک طرفه حرکت متقابل هیدرولیک تشکیل شده است. RC62-B یک مهر و موم مرحله معکوس سنگین است که برای آب بندی آب بندی فشار یک طرفه مناسب است. حلقه O نیروی شعاعی را فراهم می کند و سایش حلقه آب بندی را جبران می کند. معمولاً در رابطه با یک حلقه راهنما برای تجهیزات هیدرولیک سنگین استفاده می شود. شیارهای تقسیم شده (باز) باید برای سیلندرهایی با قطر کمتر از 30 میلی متر استفاده شوند. ویژگی ها:
1. اصطکاک کم ، مقاومت کوچک شروع ، حرکت صاف ، اصطکاک پویا و استاتیک برابر ، بدون خزنده.
2. پایداری فشار بسیار بالا تحت فشار و شرایط سخت ؛
طول عمر طولانی ، می تواند برای مهر و موم های روانکاری بدون روغن استفاده شود.
4. می تواند برای آب بندی رسانه های کم ویسکوزیته مانند آب استفاده شود.
OK از یک حلقه آب بندی باز ترموپلاستیک ساخته شده از مواد خاص و یک حلقه لاستیکی مستطیل شکل تشکیل شده است که برای آب بندی فشار دو طرفه با حرکت مجدد هیدرولیک مناسب است. حلقه لاستیکی نیروی شعاعی را فراهم می کند و سایش حلقه آب بندی را جبران می کند. از آنجا که حلقه آب بندی یک ساختار باز را اتخاذ می کند ، مشکلی که حلقه گلد به ابزارهای ویژه ای برای نصب نیاز دارد ، حل می شود. ویژگی ها:
1. اصطکاک کم ، مقاومت کوچک شروع ، حرکت صاف ، بدون خزنده.
2. پایداری فشار بسیار بالا تحت فشار و شرایط سخت ؛
3. نصب ساده و راحت ، هیچ ابزار مونتاژ لازم نیست.
4. می تواند برای آب بندی رسانه های کم ویسکوزیته مانند آب استفاده شود.
5. عملکرد ضد اکستروژن خوب ، امکان ایجاد شکاف اکستروژن بزرگتر را فراهم می کند.
RC63 از یک حلقه مهر و موم شده درپوش PTFE و یک حلقه لاستیکی O شکل تشکیل شده است که برای آب بندی فشار دو طرفه با حرکات هیدرولیک و پنوماتیک مناسب است. حلقه O شکل نیروی شعاعی را فراهم می کند و سایش حلقه آب بندی را جبران می کند. از آنجا که حلقه آب بندی یک طراحی لب نازک را اتخاذ می کند ، توانایی جبران خسارت پیگیری خوب است ، بنابراین عملکرد آب بندی خوب است و می توان آن را در شیار حلقه GB12350 نصب کرد. شیارهای تقسیم شده (باز) باید برای قطر سیلندر کمتر از 30 میلی متر استفاده شوند. ویژگی ها:
1. می توان از آن برای هیدرولیک و پنوماتیک استفاده کرد و می تواند برای آب بندی فشار دو طرفه مورد استفاده قرار گیرد.
2. اصطکاک کم ، مقاومت کوچک شروع ، حرکت صاف ، اصطکاک پویا و استاتیک برابر ، بدون خزنده.
طول عمر طولانی ، می تواند برای مهر و موم های روانکاری بدون روغن استفاده شود.
فضای ساختاری کوچک ، نصب و نگهداری آسان ؛
KDAS ، TPM (شکل ویژه) یک مونتاژ مهر و موم پیستون فشرده سازی پنج ترکیب است که از یک عنصر آب بندی لاستیکی ، دو حلقه نگهدارنده و دو حلقه راهنما تشکیل شده است. مناسب برای آب بندی پیستون فشار دو طرفه. ویژگی ها:
1. آب بندی خوب ، قابلیت اطمینان بالا ، ساختار جمع و جور.
2. در شکاف شعاعی فشرده نمی شود.
3. نصب ساده ، نصب پیستون انتگرال ؛
شکل هندسی ویژه عنصر آب بندی NBR مانع از پیچاندن آن در شیار در هنگام نصب می شود.
GDKK از دو حلقه راهنما ، دو حلقه نگهدارنده ، یک حلقه لاستیکی الاستیک و یک حلقه آب بندی تشکیل شده است. حلقه راهنما نقش موقعیت یابی و راهنمایی ایفا می کند. حلقه نگهدارنده نقش پشتیبان و موقعیت یابی را ایفا می کند ، حلقه لاستیکی الاستیک نیروی الاستیک را فراهم می کند و از دست دادن حلقه آب بندی را جبران می کند. حلقه آب بندی با سوراخ داخلی سیلندر روغن همکاری می کند تا اثر آب بندی ایجاد کند ، که برای آب بندی فشار دو طرفه پیستون سیلندر روغن مناسب است. این یک اثر آب بندی خوب حتی در شرایط کار سخت است. ویژگی ها:
1. اصطکاک کم ، مقاومت کوچک شروع ، حرکت صاف ، اصطکاک پویا و استاتیک برابر ، بدون خزنده.
2. پایداری فشار بسیار بالا تحت فشار و شرایط سخت ؛
3. زندگی بالا ، می تواند برای آب بندی در شرایط نامناسب روغن کاری استفاده شود.
4. می تواند برای آب بندی رسانه های کم ویسکوزیته مانند آب استفاده شود.
عملکرد آب بندی عالی و کم فشار بالا.
RC64 از یک حلقه آب بندی مثلثی PTFE و یک حلقه لاستیکی با حلقه O تشکیل شده است ، مناسب برای مهر و موم فشار یک طرفه حرکات هیدرولیک و پنوماتیک. حلقه O نیروی شعاعی را فراهم می کند و سایش حلقه آب بندی را جبران می کند. از آنجا که حلقه آب بندی طراحی لب نازک را اتخاذ می کند ، توانایی جبران خسارت پیگیری بهتر است ، بنابراین عملکرد آب بندی خوب است. شیار تقسیم (باز) باید برای قطر سیلندر کمتر از 30 میلی متر استفاده شود. ویژگی ها:
1. می توان از آن برای هیدرولیک و پنوماتیک استفاده کرد.
2. اصطکاک کم ، مقاومت کوچک شروع ، حرکت صاف ، اصطکاک پویا و استاتیک برابر ، بدون خزنده.
طول عمر طولانی ، می تواند برای مهر و موم های روانکاری بدون روغن استفاده شود.
فضای ساختاری کوچک ، نصب و نگهداری آسان ؛
SPG ترکیبی از یک حلقه مهر و موم PTFE اصلاح شده مستطیل و یک حلقه لاستیکی مستطیل به عنوان یک عنصر پیش بارگذاری است. این ویژگی دارای ویژگی های آب بندی خوب ، اصطکاک کم و فضای ساختاری کوچک است.
RC66 ترکیبی از یک حلقه مهر و موم PTFE اصلاح شده مستطیل و یک حلقه O به عنوان یک عنصر از پیش بار است. این ویژگی از آب بندی خوب ، اصطکاک کم و فضای ساختاری کوچک برخوردار است. برای سیلندرهای روغن پر سرعت یا سیلندرها مناسب است. RC67 از یک حلقه آب بندی مستطیل شکل PTFE پر شده ، دو حلقه نگهدارنده و یک الاستومر ناهمگن تشکیل شده است که برای آب بندی فشار دو طرفه با حرکت متقابل هیدرولیک مناسب است. الاستومر نیروی شعاعی را فراهم می کند و سایش حلقه آب بندی را جبران می کند. حلقه نگهدارنده از حلقه آب بندی محافظت می کند و حتی در شرایط سخت کار نیز اثر آب بندی خوبی دارد. ویژگی ها:
1. اصطکاک کم ، مقاومت کوچک شروع ، حرکت صاف ، اصطکاک پویا و استاتیک برابر ، بدون خزنده.
2. پایداری فشار بسیار بالا تحت فشار و شرایط سخت ؛
3. زندگی بالا ، می تواند برای مهر و موم های روانکاری بدون روغن استفاده شود.
4. می تواند برای آب بندی رسانه های کم ویسکوزیته مانند آب استفاده شود.
5. عملکرد آب بندی با فشار زیاد و پایین عالی.
RCEK از مجموعه ای از حلقه های آب بندی V شکل ، یک حلقه فشار و یک حلقه پشتیبانی تشکیل شده است و برای مهر و موم فشار یک طرفه حرکت متقابل هیدرولیک مناسب است. گریس سازگار با مواد آب بندی باید در حین نصب اعمال شود. نمی توان آن را در یک شیار انتگرال (بسته) نصب کرد. از آن برای مهر و موم های پیستون در بارهای متوسط و سنگین استفاده می شود. ویژگی ها:
1. انواع مختلفی از مواد موجود است ، که می توانند به طور بهینه متناسب با اهداف مختلف تنظیم شوند.
2. این می تواند در شرایط کار سخت مورد استفاده قرار گیرد و تقریباً برای همه رسانه ها و شرایط سخت مناسب است.
3. این عمر طولانی دارد و می تواند برای مهر و موم های روانکاری بدون روغن (انتخاب مواد معقول) استفاده شود.
4. عملکرد آب بندی را می توان تنظیم کرد و با افزودن یا از بین بردن حلقه های آب بندی V شکل ، می توان اندازه محوری را تنظیم کرد.
حتی اگر کیفیت سطح آب بندی ضعیف باشد ، می تواند به طور مؤثر کار کند.
RCKR از یک حلقه آب بندی PU و یک حلقه لاستیکی مستطیل شکل ، مناسب برای آب بندی دو طرفه حرکت متقابل هیدرولیک تشکیل شده است. این محصول مکمل محصولات حلقه گلد است ، با آب بندی بهتر و توانایی فشار فشار نسبت به حلقه گلد ، و بدون کمک ابزارهای نصب قابل نصب است. ویژگی های آن:
1. عملکرد آب بندی پویا و استاتیک خوب ؛
2. عملکرد آب بندی کم فشار بهتر از حلقه گلد ، و بدون ابزار نصب قابل نصب است.
3. اصطکاک کم ، مقاومت کوچک شروع و حرکت صاف.
طول عمر طولانی ، می تواند برای مهر و موم روغن کاری بدون روغن استفاده شود.
5. برای آب بندی فشار دو طرفه قابل استفاده است.
شیار نصب مطابق با استاندارد ISO7425/1 است.
RPW از یک حلقه مهر و موم PU خاص و یک حلقه لاستیکی O شکل ، مناسب برای آب بندی فشار دو طرفه با حرکت مجدد هیدرولیک تشکیل شده است. حلقه O نیروی شعاعی را فراهم می کند و سایش حلقه آب بندی را جبران می کند. معمولاً در رابطه با حلقه راهنما استفاده می شود. ویژگی ها:
1. اصطکاک کم ، مقاومت کوچک شروع ، حرکت صاف ، بدون خزنده.
2. پایداری فشار بسیار بالا تحت فشار و شرایط سخت ؛
3. عملکرد آب بندی خوب در هر دو فشار زیاد و پایین.
هیچ ابزار نصب برای نصب لازم نیست.
TDA و TDMA از الاستومر لاستیکی خاص (یا پلی اورتان) و یک حلقه آب بندی اصلاح شده PTFE تشکیل شده اند و ویژگی های آب بندی خوب ، عمر طولانی ، اصطکاک کم ، بدون خزیدن و غیره را دارند. TDA برای آب بندی فشار یک طرفه پیستون ها مناسب است. TDMA برای آب بندی فشار دو طرفه پیستون ها مناسب است.
GGDA از یک حلقه آب بندی پر از PTFE ، دو حلقه پشتیبانی پلاستیکی L شکل و یک حلقه O نیرو الاستیک ، با آب بندی خوب ، عمر طولانی ، اصطکاک کم ، بدون خزنده و سایر خصوصیات تشکیل شده است. مناسب برای آب بندی فشار دو طرفه پیستون.
حلقه مهر و موم RCUP یک مهر و موم نامتقارن است که به طور خاص در پیستون استفاده می شود ، مناسب برای مهر و موم یک طرفه حرکتی هیدرولیک ، با عملکرد آب بندی خوب. شیار مطابق با استاندارد ISO5597 است. حلقه مهر و موم نوع YXD برای شافت یک مهر و موم نامتقارن است که به طور خاص در پیستون استفاده می شود ، مناسب برای آب بندی یک طرفه حرکات متقابل هیدرولیک ، با عملکرد آب بندی خوب. هنگامی که از زیر 32mpa 12 ~ 12 استفاده می شود ، یک حلقه نگهدارنده در پاشنه لازم است. شیار مطابق با استاندارد JB/ZQ4265-97 است. ویژگی ها:
1. قابل استفاده در بارهای سبک و بارهای متوسط ؛
2. عملکرد آب بندی خوب برای هر دو آب بندی فشار قوی و کم فشار ؛
3. انواع مختلفی از مواد در دسترس است ، با طیف گسترده تری از مقاومت در برابر رسانه ها.
4. ساختار ساده و نصب و نگهداری آسان.
ویژگی ها و برنامه های کاربردی محصول:
انتخاب مواد:
RC61 ، RC62
1. مواد حلقه های O می توانند: R01 لاستیک نیتریل (NBR) ، R02 Fluororubber (FKM) و غیره.
2. مواد حلقه مهر و موم شده: مواد استاندارد PTFE3 ، سایر مواد اختیاری PTFE2 ، PTFE4 ، PU و غیره.
خوب
1. مواد تطبیق حلقه مستطیل شکل: R01 لاستیک نیتریل
2. ماده حلقه آب بندی: مواد ترموپلاستیک کامپوزیت.
RC63 ، RC64 ، SPG ، RC66 ، AQ ، AQF
1. مواد حلقه های O می توانند: R01 لاستیک نیتریل (NBR) ، R02 Fluororubber (FKM) و غیره.
2. مواد حلقه مهر و موم شده: مواد استاندارد PTFE3 ، سایر مواد اختیاری PTFE1 ، PTFE2 ، PTFE4.
KDAS ، TPM
1. مطابق با مواد حلقه لاستیکی: R01 لاستیک نیتریل
2. نگهدارنده مواد حلقه: Nylon PA/Polyoxymethylene POM
حلقه راهنما: Nylon PA/Polyoxymethylene POM/Polytetrafluoroethylene PTFE
GDKK ، RC67
1. مواد الاستومر موجود: لاستیک نیتریل R01 (NBR) ، R02 Fluororubber (FKM) ، و غیره.
2. مواد حلقه مهر و موم: مواد استاندارد PTFE3 ، سایر مواد اختیاری PTFE2 ، PTFE4.
3. ماده حلقه نگهدارنده: POM/PA/PTFE ، از مواد PTFE استفاده می شود که درجه حرارت بیش از 100 درجه باشد.
رفیق
1. مواد حلقه مطبوعات: پلی تتو فلورو اتیلن ، پارچه نیتریل ، پارچه فلوراوببر ، نایلون ، پلیوکسی متیلن
2. مواد حلقه V: پلی تترا فلورو اتیلن ، لاستیک نیتریل ، پارچه نیتریل ، فلوئوروبربر ، پارچه فلوراوببر
3. ماده حلقه پشتیبانی: پارچه نیتریل ، پارچه فلوراوببر ، نایلون ، پلیوکسی متیلن ، پلی تترا فلورو اتیلن
RCKR ، RPW
1. تطبیق مواد حلقه مستطیل شکل: لاستیک نیتریل RO1 (NBR)
2. مواد حلقه مهر و موم: PU
YXD
لاستیک نیتریل اختیاری (R01) ، Fluororubber (R02) ، پلی اورتان (PU) ، و غیره
مثال سفارش:
مدل سفارش RC61-40X29X4.2-PTE3-R01ORDORING مدل RC61-B-40X29X4.2-PTE3-R02
RC61-Glyd Ring RC61-B-Hole مهر و موم DXDX L-MATELIAL
RC62-80X60X10-PTFE3-R01 RC62-Model DXDXL PTFE3 ، R01 کد مواد
مدل سفارش OK-80X59X8 قطر سیلندر X Groove Diameter X Groove Width
سفارش مدل RC63-80-PTFE3-R01 یا SPGC-80-PTFE3-R01
RC63/SPGC-Model 80 سیلندر قطر D PTFE3-PTFE کد مواد R01-O-Ring کد مواد
مدل سفارش KDAS-80X60X22.4 قطر سیلندر X Groove Diameter X Groove Width (L)
مدل سفارش TPM-80X60X22.4 قطر سیلندر X Groove Diameter X Groove Width (L)
مثال سفارش: GDKK-80*62*43*22.5-r01
مدل سفارش RC64-80-PTFE3-R01
قطر 80 سیلندر RC64-Model D PTFE3-PTFE کد مواد R01-O-Ring کد مواد
مثال سفارش: SPG-D*D*L-PTFE3-R01 (قطر بیرونی*قطر داخلی*عرض شیار) PTFE3 ، کد ماده R01
RC66
مدل سفارش RC67-100X85X12.5-PTE3-R01 یا SPGW-100X85X12.5-PTFE3 -R01
قطر مدل-سیلندر X شیار پایین قطر X Groove Width PTFE3 اصلاح شده کد مواد PTFE R01 کد مواد الاستومر کد
رفیق
| مدل | مواد | دامنه قابل اجرا | مهر و موم |
| RCEK-A | V-Ring: پارچه NBR ، حلقه فشار ، حلقه پشتیبانی: پارچه NBR/PA/POM/PTFE | دمای طبیعی ، فشار بالا | خوب |
| RCEK-B | V-Ring: پارچه FKM ، حلقه فشار ، حلقه پشتیبانی: FKM CORTH/PTFE | درجه حرارت بالا ، فشار بالا | خوب |
| RCEK-C | V-Ring: NBR ، حلقه فشار ، حلقه پشتیبانی: پارچه NBR/PA/POM/PTFE | دمای طبیعی ، فشار متوسط و کم | عالی |
| RCEK-D | V-Ring: FKM ، حلقه فشار ، حلقه پشتیبانی: FKM پارچه/PTFE | درجه حرارت بالا ، فشار متوسط و کم | عالی |
| RCEK | V-Ring: ترکیب پارچه NBR و NBR ، حلقه فشار ، حلقه پشتیبانی: پارچه NBR/PA/POM/PTFE | دمای طبیعی ، فشار متوسط و زیاد | عالی |
| RCEK-F | V-Ring: ترکیب پارچه FKM و FKM ، حلقه فشار ، حلقه پشتیبانی: FKM CORTH/PTFE | درجه حرارت بالا ، فشار متوسط و بالا | عادلانه |
| RCEK-G | حلقه V ، حلقه فشار ، حلقه پشتیبانی: PTFE1/PTFE2/PTFE3/PTFE4 | دمای بالا و رسانه خورنده فشار بالا | عالی |
| RCEK-H | V-Ring: PU ، حلقه فشار ، حلقه پشتیبانی: PU/PA/POM/PTFE | دمای طبیعی ، فشار متوسط و زیاد | مهر و موم |
| مدل سفارش RCEK-A-120 × 95x25.3 مدل سیلندر قطر X Groove Diameter X Groove Width | |||
آشت
عیاشی
RCKR
RPW
TDA
طول محفظه
| دامنه قطر سیلندر | طول Chamfer E≥ |
| 40-89 | 6 |
| 90-144 | 7 |
| 145-320 | 10 |
| 321-670 | 15 |
TDMA
GGDA
رکوپ
مثال سفارش: مدل سفارش RCUP D63 × 48 × 10 استوانه قطر × شیار قطر × ارتفاع مهر و موم
YXD
مدل سفارش yxd63 × 51 × 14-R01 قطر سیلندر × قطر شیار × مهر و موم کد-مادی
مشخصات:
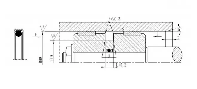
RC61| دامنه دیافراگم D H9 |
قطر شیار D H9 |
عرض شیار L+0.2 |
ترخیص کالا از گمرک شعاعی | گوشه های گرد rmax |
محفظه زمین |
قطر سیم حلقه | |||
| نوع استاندارد | بار سبک | بار سنگین | 0 ~ 20MPa | 40 mpa 20 ~ | |||||
| 8 ~ 14.9 | 39.9 ~ 15 | - | D-4.9 | 2.2 | 0.20 | 0.15 | 0.4 | 2 | 1.80 |
| 39.9 ~ 15 | 40 ~ 79.9 | - | D-7.5 | 3.2 | 0.25 | 0.15 | 0.6 | 3 | 2.65 |
| 40 ~ 79.9 | 80 ~ 132.9 | 39.9 ~ 15 | D-11.0 | 4.2 | 0.25 | 0.20 | 1.0 | 4 | 3.55 |
| 80 ~ 132.9 | 329.9 ~ 133 | 40 ~ 79.9 | D-15.5 | 6.3 | 0.30 | 0.20 | 1.3 | 5 | 5.30 |
| 329.9 ~ 133 | 330-669.9 | 80 ~ 132.9 | D-21.0 | 8.1 | 0.35 | 0.25 | 1.8 | 7 | 7.00 |
| 330 ~ 669.9 | 670 ~ 999.9 | 329.9 ~ 133 | D-24 | 8.1 | 0.35 | 0.25 | 1.8 | 7 | 7.00 |
| 670 ~ 999.9 | - | 330 ~ 669.9 | D-28.0 | 9.5 | 0.5 | 0.30 | 2.5 | 8 | 8.60 |
| > 1000 | D-38 | 13.8 | 0.7 | 0.60 | 3 | 10 | 12.0 | ||
| توجه: 1. برای قطر سوراخ ≤30mm ، توصیه می شود از شیار باز استفاده کنید. | |||||||||
| 2. برای فشار> 40MPa ، ناحیه ریشه مهر و موم از S Max H8/F8 از تحمل مناسب استفاده می کند | |||||||||
| دامنه دیافراگم D H9 |
قطر شیار D H9 |
عرض شیار L+0.2 |
ترخیص کالا از گمرک شعاعی | گوشه های گرد rmax |
محفظه زمین |
|
| 0-20 مگابا | 40 mpa 20 ~ | |||||
| 20 ~ 49.9 | D-10 | 5 | 0.40 | 0.30 | 0.3 | 4 |
| 50 ~ 59.9 | D-15 | 7.5 | 0.40 | 0.30 | 0.4 | 5 |
| 60 ~ 149.9 | D-20 | 10 | 0.50 | 0.40 | 0.4 | 6 |
| 150 ~ 244.9 | D-25 | 12.5 | 0.60 | 0.50 | 0.4 | 8.5 |
| 245 ~ 519.9 | D-30 | 15 | 0.70 | 0.60 | 0.8 | 10 |
| 520 ~ 769.9 | D-35 | 17.5 | 0.80 | 0.70 | 1.2 | 13 |
| 770 ~ 1500 | D-40 | 20 | 0.80 | 0.70 | 1.2 | 15 |
| توجه: 1. برای قطر سوراخ 30 میلی متر ≤ ، توصیه می شود از شیار باز استفاده کنید. | ||||||
| 2. برای فشار> 40MPa ، ناحیه ریشه مهر و موم از S Max H8/F8 از تحمل مناسب استفاده می کند. | ||||||
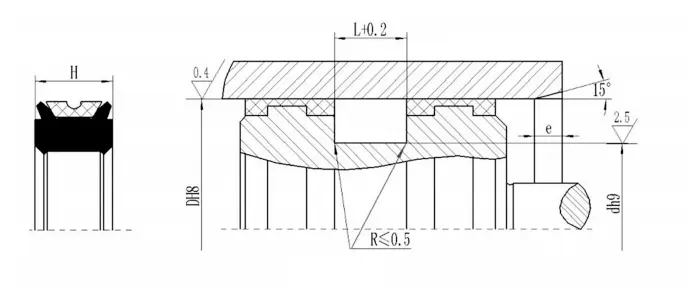
| مدل | Dh9 | Dh9 | L+0.2 | D1 | مدل | Dh9 | Dh9 | L+0.2 | D1 | مدل | Dh9 | Dh9 | L+0.2 | D1 |
| OK-25*16*4.2 | 25 | 16 | 4.2 | 24.3 | OK-90*74.5*6.3 | 90 | 74.5 | 6.3 | 89.0 | OK-160*139*8.0 | 160 | 139 | 8.0 | 158.8 |
| OK-32*21*4.2 | 32 | 21 | 4.2 | 31.3 | OK-95*74*8.0 | 95 | 74 | 8.0 | 94.0 | OK-170*149*8.0 | 170 | 149 | 8.0 | 168.8 |
| OK-40*26.3*5.8 | 40 | 26.3 | 5.8 | 39.2 | OK-100*79*8.0 | 100 | 79 | 8.0 | 99.0 | OK-180*159*8.0 | 180 | 159 | 8.0 | 178.8 |
| OK-40*29*4.2 | 40 | 29 | 4.2 | 39.3 | OK-100*84.5*6.3 | 100 | 84.5 | 6.3 | 99.0 | OK-190*169*8.0 | 190 | 169 | 8.0 | 188.8 |
| OK-50*34.5*6.3 | 50 | 34.5 | 6.3 | 49.0 | OK-105*84*8.0 | 105 | 84 | 8.0 | 103.8 | OK-200*179*8.0 | 200 | 179 | 8.0 | 198.8 |
| OK-50*39*4.2 | 50 | 39 | 4.2 | 49.3 | OK-110*89*8.0 | 110 | 89 | 8.0 | 108.8 | OK-210*189*8.0 | 210 | 189 | 8.0 | 208.4 |
| OK-60*41.7*7 | 60 | 41.7 | 7.0 | 59.2 | OK-110*94.5*6.3 | 110 | 94.5 | 6.3 | 109.0 | OK-220*199*8.0 | 220 | 199 | 8.0 | 218.4 |
| OK-60*49*4.2 | 60 | 49 | 4.2 | 59.3 | OK-115*94*8.0 | 115 | 94 | 8.0 | 113.8 | OK-230*209*8.0 | 230 | 209 | 8.0 | 228.4 |
| OK-63*44.7*7.0 | 63 | 44.7 | 7.0 | 62.2 | OK-1220*99*8.0 | 120 | 99 | 8.0 | 118.3 | OK-240*219*8.0 | 240 | 219 | 8.0 | 238.4 |
| OK-63*47.5*6.3 | 63 | 47.5 | 6.3 | 62.0 | OK-125*104*8.0 | 125 | 104 | 8.0 | 123.8 | OK-2550*229*8.0 | 250 | 229 | 8.0 | 248.4 |
| OK-70*51.7*7.0 | 70 | 51.7 | 7.0 | 69.2 | OK-125*109.5*6.3 | 125 | 109.5 | 6.3 | 124.0 | OK-280*225.5*8.0 | 280 | 255.5 | 8.0 | 278.4 |
| OK-70*59*4.2 | 70 | 59 | 4.2 | 69.3 | OK-130*109*8.0 | 130 | 109 | 8.0 | 128.8 | OK-300*272*9.5 | 300 | 272 | 9.5 | 297.8 |
| OK-75*54*8.0 | 75 | 54 | 8.0 | 74.2 | OK-130*114.5*6.3 | 130 | 114.5 | 6.3 | 129.0 | OK-320*292*9.5 | 320 | 292 | 9.5 | 317.8 |
| OK-75*59.5*6.3 | 75 | 59.5 | 6.3 | 74.0 | OK-135*114*8.0 | 135 | 114 | 8.0 | 133.5 | OK-330*302*9.5 | 330 | 302 | 9.5 | 327.8 |
| OK-80*59*8.0 | 80 | 59 | 8.0 | 79.0 | OK-135*119.5*6.3 | 135 | 119.5 | 6.3 | 134.0 | OK-350*322*9.5 | 350 | 322 | 9.5 | 347.8 |
| OK-80*64.5*6.3 | 80 | 64.5 | 6.3 | 79.0 | OK-140*119*8.0 | 140 | 119 | 8.0 | 138.8 | OK-370*342*9.5 | 370 | 342 | 9.5 | 367.8 |
| OK-85*64*8.0 | 85 | 64 | 8.0 | 84.0 | OK-145*124*8.0 | 145 | 124 | 8.0 | 143.8 | OK-420*392*9.5 | 420 | 392 | 9.5 | 417.8 |
| OK-90*69*8.0 | 90 | 69 | 8.0 | 89.0 | OK-150*129*8.0 | 150 | 129 | 8.0 | 148.8 |
|
|
|
|
|
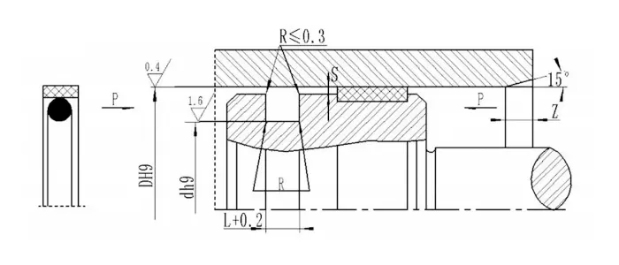
| دامنه دیافراگم D H9 |
قطر شیار D H9 | عرض شیار L+0.2 |
ترخیص کالا از گمرک Sماx |
گوشه های گرد rmax |
محفظه Zحداقل |
قطر سیم حلقه dO |
|
| وابسته به هیدرولیکی | اصطکاک کم پنوماتیک و هیدرولیک | ||||||
| 6 ~ 13 | D-3 | D-3.5 | 2.5 | 0.2 | 0.4 | 3 | 1.9 |
| 26 ~ 26 | D-4 | D-4.6 | 3.2 | 0.3 | 0.6 | 4 | 2.4 |
| 27 ~ 56 | D-6 | D-6.6 | 4.7 | 0.3 | 1 | 5 | 3.5 |
| 57 ~ 169 | D-10 | D-10.6 | 7.5 | 0.35 | 1 | 6 | 5.7 |
| 170 ~ 1500 | D-15 | D-5.6 | 11.0 | 0.4 | 2.5 | 8 | 8.6 |
| مدل | اندازه | مدل | اندازه | ||||||||||
| D | d | D1 | D2 | L | L1 | D | d | D1 | D2 | L | L1 | ||
| KDAS-20 | 20 | 11 | 17 | 19 | 13.5 | 2.1 | KDAS-25/2 | 25 | 16 | 22 | 24 | 13.5 | 2.1 |
| KDAS-22 | 22 | 13 | 19 | 21 | 13.5 | 2.1 | KDAS-28 | 28 | 19 | 25 | 27 | 13.5 | 2.1 |
| KDAS-25/1 | 25 | 15 | 22 | 24 | 12.5 | 4 | KDAS-30 | 30 | 21 | 27 | 29 | 13.5 | 2.1 |
| شماره محصول | D | d | b | d2 | d3 | a | c | f | e |
| GDKK-40 | 40 | 26 | 32 | 32 | 36 | 3 | 15.5 | 8.25 | 7 |
| GDKK-45 | 45 | 31 | 37 | 41 | |||||
| GDKK-50 | 50 | 34 | 39 | 42 | 46 | 20.5 | 9.25 | ||
| GDKK-56 | 56 | 40 | 48 | 52 | |||||
| GDKK-63 | 63 | 47 | 55 | 59 | |||||
| GDKK-65 | 65 | 49 | 57 | 61 | |||||
| GDKK-70 | 70 | 54 | 62 | 66 | |||||
| GDKK-75 | 75 | 59 | 67 | 71 | |||||
| GDKK-80 | 80 | 62 | 43 | 72 | 76 | 22.5 | 10.25 | ||
| GDKK-85 | 85 | 67 | 77 | 81 | |||||
| GDKK-90 | 90 | 72 | 82 | 86 | |||||
| GDKK-95 | 95 | 77 | 87 | 91 | |||||
| GDKK-100 | 100 | 82 | 92 | 96 | 10 | ||||
| GDKK-110 | 110 | 92 | 102 | 106 | |||||
| GDKK-115 | 115 | 97 | 107 | 111 | |||||
| GDKK-120 | 120 | 102 | 112 | 116 |
| دامنه دیافراگم D H9 |
قطر شیار Dh9 |
عرض شیار L+0.2 |
گوشه های گرد rmax |
ترخیص کالا از گمرک بذله گو |
محفظه زمین |
قطر سیم حلقه dO |
| 22.9 ~ 14 | D-5.2 | 3.8 | 0.6 | 0.25 | 3 | 2.65 |
| 23 ~ 49.9 | D-6.6 | 4.8 | 1 | 0.3 | 4 | 3.55 |
| 50 ~ 119.9 | D-10.0 | 7.3 | 1.3 | 0.35 | 6 | 5.30 |
| 1500 ~ 120 | D-3.0 | 9.5 | 1.8 | 0.4 | 8 | 7.00 |
| توجه: برای قطر سیلندر ≤30mm ، شیار باز توصیه می شود. | ||||||
| D | d | H | L+0.2 |
|
D | d | H | L+0.2 |
|
D | d | H | L+0.2 |
|
D | d | H | L+0.2 |
| 30 | 20.5 | 4.3 | 4.5 | 95 | 80 | 7.3 | 7.5 | 224 | 202 | 10.8 | 11 | 800 | 785 | 12.7 | 13 | |||
| 31.5 | 22 | 4.3 | 4.5 | 100 | 85 | 7.3 | 7.5 | 225 | 203 | 10.8 | 11 | 900 | 870 | 24.5 | 25 | |||
| 32 | 22.5 | 4.3 | 4.5 | 108 | 92 | 7.3 | 7.5 | 230 | 208 | 10.8 | 11 | 930 | 890 | 19 | 20 | |||
| 35 | 25.5 | 4.3 | 4.5 | 110 | 94 | 7.3 | 7.5 | 240 | 218 | 10.8 | 11 | 935 | 920 | 12.7 | 13 | |||
| 35.5 | 26 | 4.3 | 4.5 | 112 | 96 | 7.3 | 7.5 | 250 | 228 | 10.8 | 11 | 950 | 925 | 17.7 | 18 | |||
| 40 | 30 | 4.3 | 4.5 | 120 | 104 | 7.3 | 7.5 | 260 | 236 | 11.7 | 12 | 1000 | 960 | 19.7 | 20 | |||
| 45 | 35 | 4.3 | 4.5 | 125 | 109 | 7.3 | 7.5 | 270 | 246 | 11.7 | 12 | 1060 | 1020 | 19.7 | 20 | |||
| 50 | 40 | 4.3 | 4.5 | 130 | 114 | 7.3 | 7.5 | 280 | 256 | 11.7 | 12 | 1120 | 1080 | 19.7 | 20 | |||
| 55 | 45 | 4.3 | 4.5 | 140 | 124 | 7.3 | 7.5 | 290 | 266 | 11.7 | 12 | 1150 | 1110 | 19.7 | 20 | |||
| 56 | 46 | 4.3 | 4.5 | 145 | 129 | 7.3 | 7.5 | 300 | 276 | 11.7 | 12 | 1180 | 1130 | 19.7 | 20 | |||
| 60 | 50 | 4.3 | 4.5 | 150 | 134 | 7.3 | 7.5 | 310 | 286 | 11.7 | 12 | 1210 | 1170 | 19.7 | 20 | |||
| 63 | 48 | 7.3 | 7.5 | 155 | 139 | 7.3 | 7.5 | 320 | 296 | 11.7 | 12 | 1250 | 1210 | 19 | 20 | |||
| 65 | 50 | 7.3 | 7.5 | 160 | 144 | 7.3 | 7.5 | 330 | 308 | 9.75 | 10 | 1260 | 1220 | 19.7 | 20 | |||
| 69 | 54 | 7.3 | 7.5 | 170 | 148 | 10.8 | 11 | 360 | 336 | 11.7 | 12 | 1400 | 1350 | 19.7 | 20 | |||
| 70 | 55 | 7.3 | 7.5 | 180 | 158 | 10.8 | 11 | 485 | 455 | 14.8 | 15 | 1500 | 1460 | 19.7 | 20 | |||
| 71 | 56 | 7.3 | 7.5 | 190 | 168 | 10.8 | 11 | 500 | 470 | 14.8 | 15 | 1650 | 1600 | 24 | 25 | |||
| 75 | 60 | 7.3 | 7.5 | 200 | 178 | 10.8 | 11 | 550 | 515 | 17.2 | 17.5 |
|
|
|
|
|||
| 80 | 65 | 7.3 | 7.5 | 204 | 182 | 10.8 | 11 | 600 | 570 | 14.8 | 15 |
|
|
|
|
|||
| 85 | 70 | 7.3 | 7.5 | 210 | 188 | 10.8 | 11 | 650 | 620 | 14.8 | 15 |
|
|
|
|
|||
| 90 | 75 | 7.3 | 7.5 | 220 | 198 | 10.8 | 11 | 720 | 690 | 14.8 | 15 |
|
|
|
|
| مثال سفارش: RC66-D*D*L-PTFE3-R01 (قطر بیرونی*قطر داخلی*عرض شیار) PTFE3 ، R01- کد مواد | ||||||||||||||||||
| D | d | L |
|
D | d | L |
|
D | d | L |
|
D | d | L |
|
D | d | L |
| 15 | 10 | 2 | 32 | 24.8 | 4 | 55 | 45 | 5 | 80 | 66 | 6.5 | 125 | 111.2 | 7.5 | ||||
| 16 | 11 | 2 | 35 | 26.5 | 4 | 55 | 46.5 | 4 | 80 | 66.2 | 7.5 | 125 | 114 | 4 | ||||
| 18 | 13 | 2 | 35 | 27.5 | 3 | 56 | 46 | 5 | 80 | 70 | 4 | 130 | 116 | 6.5 | ||||
| 20 | 12.8 | 4 | 35 | 27.8 | 4 | 56 | 47.5 | 4 | 90 | 76 | 6.5 | 140 | 126 | 6.5 | ||||
| 20 | 14 | 3 | 36 | 28.5 | 3 | 60 | 50 | 4 | 90 | 76.2 | 7.5 | 140 | 126.2 | 7.5 | ||||
| 20 | 15 | 2 | 36 | 28.8 | 4 | 60 | 50 | 5 | 90 | 80 | 4 | 160 | 146 | 6.5 | ||||
| 25 | 17.8 | 4 | 40 | 30 | 5 | 60 | 51.5 | 4 | 100 | 86 | 6.5 | 180 | 160 | 10 | ||||
| 25 | 19 | 3 | 40 | 31.5 | 4 | 63 | 49 | 6.5 | 100 | 86.2 | 7.5 | 180 | 165 | 6 | ||||
| 25 | 20 | 2 | 40 | 32.5 | 3 | 63 | 53 | 4 | 100 | 89 | 4 | 200 | 180 | 10 | ||||
| 28 | 20.5 | 3 | 45 | 35 | 5 | 63 | 53 | 5 | 110 | 96 | 6.5 | 200 | 185 | 6 | ||||
| 28 | 20.8 | 4 | 45 | 36.5 | 4 | 65 | 51 | 6.5 | 110 | 96.2 | 7.5 | 250 | 230 | 10 | ||||
| 30 | 21.5 | 4 | 45 | 37.5 | 3 | 65 | 55 | 4 | 110 | 99 | 4 | 280 | 260 | 10 | ||||
| 30 | 22.5 | 3 | 50 | 40 | 4 | 65 | 55 | 5 | 120 | 106 | 6.5 | 320 | 300 | 10 | ||||
| 30 | 22.8 | 4 | 50 | 40 | 5 | 70 | 56 | 6.5 | 120 | 106.2 | 7.5 |
|
|
|
||||
| 32 | 23.5 | 4 | 50 | 41.5 | 4 | 70 | 60 | 4 | 120 | 109 | 4 |
|
|
|
||||
| 32 | 24.5 | 3 | 55 | 45 | 4 | 70 | 60 | 5 | 125 | 111 | 6.5 |
|
|
|
||||
| توجه: ابعاد در این جدول ذکر نشده است ، لطفا با ما تماس بگیرید. | ||||||||||||||||||
| Dh9 | D H9 | L+0.2 | Z | R |
|
Dh9 | D H9 | L+0.2 | Z | R |
| 50.0 | 36.0 | 9.0 | 5.0 | 0.3 | 115.0 | 100.0 | 12.5 | 5.0 | 0.5 | |
| 55.0 | 41.0 | 9.0 | 5.0 | 0.3 | 120.0 | 105.0 | 12.5 | 5.0 | 0.5 | |
| 60.0 | 46.0 | 9.0 | 5.0 | 0.3 | 125.0 | 102.0 | 16.0 | 6.5 | 0.6 | |
| 63.0 | 48.0 | 11.0 | 5.0 | 0.5 | 130.0 | 107.0 | 16.0 | 6.5 | 0.6 | |
| 65.0 | 50.0 | 11.0 | 5.0 | 0.5 | 135.0 | 112.0 | 16.0 | 6.5 | 0.6 | |
| 70.0 | 55.0 | 11.0 | 5.0 | 0.5 | 140.0 | 117.0 | 16.0 | 6.5 | 0.6 | |
| 75.0 | 60.0 | 11.0 | 5.0 | 0.5 | 145.0 | 122.0 | 16.0 | 6.5 | 0.6 | |
| 80.0 | 65.0 | 11.0 | 5.0 | 0.5 | 150.0 | 127.0 | 16.0 | 6.5 | 0.6 | |
| 85.0 | 70.0 | 11.0 | 5.0 | 0.5 | 155.0 | 132.0 | 16.0 | 6.5 | 0.6 | |
| 90.0 | 75.0 | 11.0 | 5.0 | 0.5 | 160.0 | 137.0 | 16.0 | 6.5 | 0.6 | |
| 95.0 | 80.0 | 12.5 | 5.0 | 0.5 | 165.0 | 142.0 | 16.0 | 6.5 | 0.6 | |
| 100.0 | 85.0 | 12.5 | 5.0 | 0.5 | 170.0 | 147.0 | 16.0 | 6.5 | 0.6 | |
| 105.0 | 90.0 | 12.5 | 5.0 | 0.5 | 180.0 | 157.0 | 16.0 | 6.5 | 0.6 | |
| 110.0 | 95.0 | 12.5 | 5.0 | 0.5 |
|
|
|
|
|
| مشخصات و ابعاد | ||||||||||
| قطر سیلندر | قطر پایین | قطر پایه | عرض | راهنما |
|
قطر سیلندر | قطر پایین | قطر پایه | عرض | راهنما |
| Dh9 | D H9 | د 1 | L | Z | Dh9 | D H9 | د 1 | L | Z | |
| 100 | 80 | 99 | 21.2 | 6 | 150 | 120 | 148.5 | 29 | 7.5 | |
| 110 | 90 | 109 | 21.2 | 6 | 160 | 130 | 158.5 | 29 | 7.5 | |
| 120 | 95 | 119 | 25.3 | 7.5 | 180 | 150 | 178.5 | 31.5 | 7.5 | |
| 140 | 115 | 139 | 25.8 | 7.5 | 200 | 170 | 198.5 | 33.5 | 7.5 | |
| سفارش مثال AQ0800 80 × 64.5 × 6.3 (D × D × L) PTFE3-R01 PTFE3 R01 Code | ||||||||||||||||
| شماره محصول | D | d | L+0.2 | Rماx |
|
شماره محصول | D | d | L+0.2 | Rماx |
|
شماره محصول | D | d | L+0.2 | Rماx |
| AQ0160 | 16 | 5 | 4.2 | 0.8 | AQ0800L | 80 | 64.5 | 6.3 | 1.2 | AQ1500 | 150 | 129 | 8.1 | 1.6 | ||
| add0180 | 18 | 7 | 42 | 0.8 | AQ0800 | 80 | 59 | 8.1 | 1.6 | AQ1600 | 160 | 139 | 8.1 | 1.6 | ||
| AQ0200 | 20 | 9 | 4.2 | 0.8 | AQ0850L | 85 | 69.5 | 6.3 | 1.2 | AQ1700 | 170 | 149 | 8.1 | 1.6 | ||
| AQ0220 | 22 | 11 | 4.2 | 0.8 | AQ0850 | 85 | 64 | 8.1 | 1.6 | AQ1800 | 180 | 159 | 8.1 | 1.6 | ||
| AQ0250 | 25 | 14 | 4.2 | 0.8 | AW0900L | 90 | 74.5 | 6.3 | 1.2 | AQ1900 | 190 | 169 | 8.1 | 1.6 | ||
| AQ0280 | 28 | 17 | 4.2 | 0.8 | AQ0900 | 90 | 69 | 8.1 | 1.6 | AQ2000 | 200 | 179 | 8.1 | 1.6 | ||
| AQ0300 | 30 | 19 | 4.2 | 0.8 | AQ0950L | 95 | 79.5 | 6.3 | 1.2 | AQ2100 | 210 | 189 | 8.1 | 1.6 | ||
| AQ0320 | 32 | 21 | 4.2 | 0.8 | AQ0950 | 95 | 74 | 8.1 | 1.6 | AQ2200 | 220 | 199 | 8.1 | 1.6 | ||
| AQ0350 | 35 | 24 | 4.2 | 0.8 | AQ1000L | 100 | 84.5 | 6.3 | 1.2 | AQ2300 | 230 | 209 | 8.1 | 1.6 | ||
| AQ0400 | 40 | 29 | 4.2 | 0.8 | AQ1000 | 100 | 79 | 8.1 | 1.6 | AQ2400 | 240 | 219 | 8.1 | 1.6 | ||
| سفارش مثال AQF0800 80 × 67 × 8.3 (D × D × L) کد مواد PTFE3-R01 | ||||||||||||||||
| شماره محصول |
D H9 |
d H9 |
L+0.2 | Rماx |
|
شماره محصول |
D H9 |
d H9 |
L+0.2 | Rماx |
|
شماره محصول |
D H9 |
d H9 |
L+0.2 | Rماx |
| AQF0400 | 40 | 30 | 6.3 | 1.2 | AQF01150 | 115 | 102 | 8.3 | 1.6 | AQF3200 | 320 | 302 | 12.3 | 3 | ||
| AQF0420 | 42 | 32 | 6.3 | 1.2 | AQF01200 | 120 | 107 | 8.3 | 1.6 | AQF3500 | 350 | 332 | 12.3 | 3 | ||
| AQF0450 | 45 | 35 | 6.3 | 1.2 | AQF01250 | 125 | 112 | 8.3 | 1.6 | AQF4000 | 400 | 382 | 12.3 | 3 | ||
| AQF0480 | 48 | 38 | 6.3 | 1.2 | AQF01300 | 130 | 117 | 8.3 | 1.6 | AQF4200 | 420 | 402 | 12.3 | 3 | ||
| AQF0500 | 50 | 40 | 6.3 | 1.2 | AQF1350 | 135 | 117 | 12.3 | 3 | AQF4500 | 450 | 432 | 12.3 | 3 | ||
| AQF0520 | 52 | 42 | 6.3 | 1.2 | AQF1400 | 140 | 122 | 12.3 | 3 | AQF4800 | 480 | 449 | 16.3 | 3 | ||
| AQF0550 | 55 | 45 | 6.3 | 1.2 | AQF1500 | 150 | 132 | 12.3 | 3 | AQF5000 | 500 | 469 | 16.3 | 3 | ||
| AQF0600 | 60 | 50 | 6.3 | 1.2 | AQF1600 | 160 | 142 | 12.3 | 3 | AQF6000 | 600 | 569 | 16.3 | 3 | ||
| AQF0630 | 63 | 53 | 6.3 | 1.2 | AQF1700 | 170 | 152 | 12.3 | 3 | AQF7000 | 700 | 669 | 16.3 | 3 | ||
| D | d | L | D1 |
|
D | d | L | D1 |
|
D | d | L | D1 |
| 20 | 12.5 | 3.2 | 19.7 | 63 | 50 | 6.3 | 62.6 | 100 | 79 | 8.1 | 99.5 | ||
| 25 | 17.5 | 3.2 | 24.7 | 65 | 52 | 6.3 | 64.6 | 105 | 84.5 | 6.3 | 104.6 | ||
| 25 | 14 | 4.2 | 24.7 | 70 | 59 | 4.2 | 69.7 | 105 | 89.5 | 6.3 | 104.6 | ||
| 32 | 24.5 | 3.2 | 31.7 | 70 | 54.5 | 6.3 | 69.6 | 110 | 89 | 8.1 | 109.5 | ||
| 32 | 21 | 4.2 | 31.7 | 70 | 57 | 6.3 | 69.6 | 115 | 94 | 8.1 | 114.5 | ||
| 40 | 32.5 | 3.2 | 39.7 | 75 | 59.5 | 6.3 | 74.6 | 120 | 99 | 8.1 | 119.5 | ||
| 40 | 29 | 4.2 | 39.7 | 75 | 62 | 6.3 | 74.6 | 125 | 109.5 | 6.3 | 124.6 | ||
| 45 | 34 | 4.2 | 44.7 | 80 | 69 | 4.2 | 79.7 | 125 | 104 | 8.1 | 124.5 | ||
| 45 | 32 | 6.3 | 44.6 | 80 | 64.5 | 6.3 | 79.6 | 140 | 119 | 8.1 | 139.5 | ||
| 50 | 39 | 4.2 | 49.7 | 85 | 71.5 | 6.3 | 84.6 | 160 | 139 | 8.1 | 159.5 | ||
| 50 | 34.5 | 6.3 | 49.6 | 90 | 74.5 | 6.3 | 89.6 | 200 | 179 | 8.1 | 199.5 |
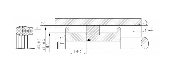
| دامنه دیافراگم D H9 |
قطر شیار D H9 |
عرض شیار L+0.2 |
ترخیص کالا از گمرک شعاعی | گوشه های گرد rmax |
محفظه Z |
قطر سیم حلقه | |||
| نوع استاندارد RPW |
بار سبک RPW-Q |
بار سنگین RPW-Z |
0 ~ 20MPa | 20-40MPa | |||||
| 8 ~ 14.9 | 39.9 ~ 15 | - | D-4.9 | 2.2 | 0.20 | 0.15 | 0.4 | 2 | 1.80 |
| 39.9 ~ 15 | 40 ~ 79.9 | - | D-7.5 | 3.2 | 0.25 | 0.15 | 0.6 | 3 | 2.65 |
| 40 ~ 79.9 | 80 ~ 132.9 | 39.9 ~ 15 | D-11.0 | 4.2 | 0.25 | 0.20 | 1.0 | 4 | 3.55 |
| 80 ~ 132.9 | 329.9 ~ 133 | 40 ~ 79.9 | D-15.5 | 6.3 | 0.30 | 0.20 | 1.3 | 5 | 5.30 |
| 329.9 ~ 133 | 330 ~ 669.9 | 80 ~ 132.9 | D-21.0 | 8.1 | 0.35 | 0.25 | 1.8 | 7 | 7.00 |
| 330-669.9 | 670 ~ 999.9 | 329.9 ~ 133 | D-24 | 8.1 | 0.35 | 0.25 | 1.8 | 7 | 7.00 |
| 670 ~ 999.9 | - | 330 ~ 669.9 | D-28.0 | 9.5 | 0.5 | 0.30 | 2.5 | 8 | 8.60 |
| > 1000 | D-38 | 13.8 | 0.7 | 0.60 | 3 | 10 | 12.0 | ||
| توجه: 1. برای قطر سوراخ 30 میلی متر ≤ ، توصیه می شود از شیار باز استفاده کنید. | |||||||||
| 2. برای فشار> 40MPa ، ناحیه ریشه مهر و موم از تحمل مناسب H8/F8 استفاده می کند. | |||||||||
|
|
|||||||||||||
| شماره سفارش | DH8 | Dh9 | L+0.2 |
|
شماره سفارش | DH8 | Dh9 | L+0.2 |
|
شماره سفارش | DH8 | Dh9 | L+0.2 |
| TDA0400 | 40 | 32 | 7.5 | TDA1150 | 115 | 100 | 13 | TDA2800 | 280 | 260 | 17 | ||
| TDA0450 | 45 | 37 | 7.5 | TDA1200 | 120 | 105 | 13 | TDA3000 | 300 | 280 | 17 | ||
| TDA0500 | 50 | 42 | 7.5 | TDA1250 | 125 | 110 | 13 | TDA3200 | 320 | 300 | 17 | ||
| TDA0550 | 55 | 45 | 7.5 | TDA1300 | 130 | 115 | 13 | TDA3500 | 350 | 320 | 21 | ||
| TDA0600 | 60 | 45 | 13 | TDA1400 | 140 | 120 | 13 | TDA3700 | 370 | 345 | 17 | ||
| TDA0630 | 63 | 53 | 8.5 | TDA1450 | 145 | 125 | 13 | TDA3800 | 380 | 350 | 21 | ||
| TDA0630a | 63 | 48 | 13 | TDA1500 | 150 | 130 | 13 | TDA3900 | 390 | 360 | 21 | ||
| TDA0650 | 65 | 50 | 8.5 | TDA1600 | 160 | 140 | 13 | TDA4100 | 410 | 380 | 21 | ||
| TDA0650a | 65 | 50 | 13 | TDA1600a | 160 | 140 | 17 | TDA4300 | 430 | 400 | 21 | ||
| TDA0700 | 70 | 55 | 13 | TDA1700 | 170 | 150 | 17 | TDA4500 | 450 | 420 | 21 | ||
| TDA0750 | 75 | 60 | 13 | TDA1800 | 180 | 160 | 17 | TDA4800 | 480 | 450 | 21 | ||
| TDA0800 | 80 | 65 | 13 | TDA1900 | 190 | 170 | 17 | TDA5000 | 500 | 475 | 17 | ||
| TDA0850 | 85 | 70 | 13 | TDA2000 | 200 | 180 | 17 | TDA5100 | 510 | 480 | 21 | ||
| TDA0900 | 90 | 75 | 13 | TDA2100 | 210 | 190 | 17 | TDA5900 | 590 | 560 | 21 | ||
| TDA0950 | 95 | 80 | 13 | TDA2200 | 220 | 200 | 17 | TDA6000 | 600 | 570 | 21 | ||
| TDA1000 | 100 | 85 | 13 | TDA2250 | 225 | 205 | 17 | TDA6700 | 670 | 640 | 21 | ||
| TDA1100 | 110 | 95 | 13 | TDA2500 | 250 | 230 | 17 |
|
|
|
|
||
| توجه: اگر مشخصات مورد نیاز در این جدول نیست ، لطفا با ما تماس بگیرید. | |||||||||||||
| ابعاد نصب |
|
|
|
|
|
|
|
|
|
|
|
طول محفظه | |||||
| قطر سیلندر 8 | قطر پایین شیار | عرض شکاف L+0.2 | ارتفاع مهر سخنرانی |
|
|
دامنه قطر سیلندر | طول محفظه e اهدا | ||||||||||
| 40-120 | D-10 | 16 | 15 |
|
|
40-124 | 7 | ||||||||||
| 121-300 | D-12 | 16 | 15 |
|
|
125-299 | 10 | ||||||||||
| 301-380 | D-14 | 16 | 15 |
|
|
300-630 | 15 | ||||||||||
| > 380 | D-16 | 16 | 15 |
|
|
||||||||||||
|
|
|
|
|
|
|
|
|
||||||||||
| شماره سفارش | DH8 | Dh9 | L+0.2 |
|
شماره سفارش | DH8 | Dh9 | L+0.2 |
|
شماره سفارش | DH8 | Dh9 | L+0.2 | ||||
| TDMA0400 | 40 | 30 | 16 | TDMA1150 | 115 | 105 | 16 | TDMA2500 | 250 | 238 | 16 | ||||||
| TDMA0450 | 45 | 35 | 16 | TDMA1200 | 120 | 110 | 16 | TDMA2800 | 280 | 268 | 16 | ||||||
| TDMA0500 | 50 | 40 | 16 | TDMA1250 | 125 | 113 | 16 | TDMA3000 | 300 | 288 | 16 | ||||||
| TDMA0550 | 55 | 45 | 16 | TDMA1300 | 130 | 118 | 16 | TDMA3200 | 320 | 306 | 16 | ||||||
| TDMA0560 | 56 | 46 | 16 | TDMA1350 | 135 | 123 | 16 | TDMA3500 | 350 | 336 | 16 | ||||||
| TDMA0600 | 60 | 50 | 16 | TDMA1400 | 140 | 128 | 16 | TDMA3800 | 380 | 366 | 16 | ||||||
| TDMA0630 | 63 | 53 | 16 | TDMA1500 | 150 | 138 | 16 | TDMA4000 | 400 | 384 | 16 | ||||||
| TDMA0650 | 65 | 55 | 16 | TDMA1600 | 160 | 148 | 16 | TDMA4200 | 420 | 404 | 16 | ||||||
| TDMA0700 | 70 | 60 | 16 | TDMA1700 | 170 | 158 | 16 | TDMA4500 | 450 | 434 | 16 | ||||||
| TDMA0750 | 75 | 65 | 16 | TDMA1800 | 180 | 168 | 16 | TDMA4800 | 480 | 464 | 16 | ||||||
| TDMA0800 | 80 | 70 | 16 | TDMA1900 | 190 | 178 | 16 | TDMA5000 | 500 | 484 | 16 | ||||||
| TDMA0850 | 85 | 75 | 16 | TDMA2000 | 200 | 188 | 16 | TDMA5600 | 560 | 544 | 16 | ||||||
| TDMA0900 | 90 | 80 | 16 | TDMA2100 | 210 | 198 | 16 | TDMA6000 | 600 | 584 | 16 | ||||||
| TDMA1000 | 100 | 90 | 16 | TDMA2200 | 220 | 208 | 16 | TDMA6300 | 630 | 614 | 16 | ||||||
| TDMA1100 | 110 | 100 | 16 | TDMA2250 | 225 | 213 | 16 |
|
|
|
|
||||||
| توجه: مشخصات مورد نیاز در این جدول نیست ، اما می تواند نیز تولید شود. لطفا با ما تماس بگیرید | |||||||||||||||||
| ابعاد نصب |
|
|
|
|
|
|
طول محفظه | |||||||
|
|
|
|
|
دامنه قطر سیلندر | طول محفظه e اهدا | |||||||||
|
|
|
|
|
|
<99 | 7 | ||||||||
| قطر سیلندر DH8 | قطر پایین شیار Dh9 | عرض شکاف سعادت+0.2 | ارتفاع مهر سخنرانی |
|
100-199 | 10 | ||||||||
| <96 | D-16.8 | 8 | 7.5 |
|
||||||||||
| 96-190 | D-20 | 10 | 9.5 |
|
200-309 | 12 | ||||||||
| 191-380 | D-28 | 13 | 12.5 |
|
310-559 | 15 | ||||||||
| > 380 | D-36 | 20 | 19.5 |
|
> 599 | 18 | ||||||||
|
|
|
|
|
|
|
|
||||||||
| شماره سفارش | D H8 | D H9 | L+0.2 |
|
شماره سفارش | D H8 | D H9 | L+0.2 |
|
شماره سفارش | D H8 | D H9 | L+0.2 | |
| GGDA0400 | 40 | 23.2 | 8 | GGDA1050 | 105 | 85 | 10 | GGDA2500 | 250 | 222 | 13 | |||
| GGDA0450 | 45 | 28.2 | 8 | GGDA1100 | 110 | 90 | 10 | GGDA2800 | 280 | 252 | 13 | |||
| GGDA0500 | 50 | 33.2 | 8 | GGDA1150 | 115 | 95 | 10 | GGDA3000 | 300 | 272 | 13 | |||
| GGDA0550 | 55 | 38.2 | 8 | GGDA1200 | 120 | 100 | 10 | GGDA3200 | 320 | 292 | 13 | |||
| GGDA0560 | 56 | 39.2 | 8 | GGDA1250 | 125 | 105 | 10 | GGDA3500 | 350 | 322 | 13 | |||
| GGDA0600 | 60 | 43.2 | 8 | GGDA1300 | 130 | 110 | 10 | GGDA3800 | 380 | 352 | 13 | |||
| GGDA0630 | 63 | 46.2 | 8 | GGDA1350 | 135 | 115 | 10 | GGDA4000 | 400 | 364 | 20 | |||
| GGDA0650 | 65 | 48.2 | 8 | GGDA1400 | 140 | 120 | 10 | GGDA4200 | 420 | 384 | 20 | |||
| GGDA0700 | 70 | 53.2 | 8 | GGDA1500 | 150 | 130 | 10 | GGDA4500 | 450 | 414 | 20 | |||
| GGDA0750 | 75 | 58.2 | 8 | GGDA1600 | 160 | 140 | 10 | GGDA4800 | 480 | 444 | 20 | |||
| GGDA0800 | 80 | 63.2 | 8 | GGDA1700 | 170 | 150 | 10 | GGDA5000 | 500 | 464 | 20 | |||
| GGDA0850 | 85 | 68.2 | 8 | GGDA1800 | 180 | 160 | 10 | GGDA5600 | 560 | 524 | 20 | |||
| GGDA0900 | 90 | 73.2 | 8 | GGDA1900 | 190 | 170 | 10 | GGDA6000 | 600 | 564 | 20 | |||
| GGDA0950 | 95 | 78.2 | 8 | GGDA2000 | 200 | 172 | 13 | GGDA6300 | 630 | 594 | 20 | |||
| GGDA1000 | 100 | 80 | 10 | GGDA2200 | 220 | 192 | 13 |
|
|
|
|
|||
| توجه: مشخصات مورد نیاز در این جدول نیست ، اما می تواند نیز تولید شود. لطفا با ما تماس بگیرید حداکثر محصول موجود 1600 میلی متر است. | ||||||||||||||
| شکاف اکستروژن |
|
|
|
|
|
|
|
|
|
|
|
||
| MPA فشار | شکاف اکستروژن smax |
|
|
|
|||||||||
| قطر سیلندر D≤60mm | قطر سیلندر D> 60 میلی متر |
|
|
|
|||||||||
| ≤5 | 0.4 | 0.5 |
|
|
|
||||||||
| ≤10 | 0.3 | 0.5 |
|
|
|
||||||||
| ≤20 | 0.2 | 0.3 |
|
|
|
||||||||
| ≤30 | 0.15 | 0.2 |
|
|
|
||||||||
| ≤40 | 0.1 | 0.15 |
|
|
|
||||||||
| نمودار اندازه | |||||||||||||
| شماره محصول | D | d | H | L | D1 |
|
شماره محصول | D | d | H | L | D1 | |
| rcup30*15*9.5 | 30 | 15 | 9.5 | 10.5 | 18 | RCUP40*32*5.5 | 40 | 32 | 5.5 | 6.5 | 35 | ||
| rcup30*15*10 | 30 | 15 | 10 | 11 | 19 | RCUP40*32*8 | 40 | 32 | 8 | 9 | 35 | ||
| rcup30*20*8 | 30 | 20 | 8 | 9 | 24 | rcup40*33*8 | 40 | 33 | 8 | 9 | 36 | ||
| RCUP30*22*6.5 | 30 | 22 | 6.5 | 7 | 25 | rcup45*30*10 | 45 | 30 | 10 | 11 | 35 | ||
| rcup35*20*10 | 35 | 20 | 10 | 11 | 25 | rcup50*30*12 | 50 | 30 | 12 | 13 | 35 | ||
| rcup35*25*8 | 35 | 25 | 8 | 9 | 29 | rcup50*32*10 | 50 | 32 | 10 | 11 | 35 | ||
| rcup35*27*10 | 35 | 27 | 10 | 11 | 30 | rcup50*35*8.5 | 50 | 35 | 8.5 | 9.5 | 40 | ||
| rcup40*25*10 | 40 | 25 | 10 | 11 | 30 | rcup50*35*10 | 50 | 35 | 10 | 11 | 40 | ||
| RCUP40*30*6.5 | 40 | 30 | 6.5 | 7.5 | 34 | rcup50*40*5 | 50 | 40 | 5 | 5.5 | 44 | ||
| RCUP40*30*10 | 40 | 30 | 10 | 11 | 34 | rcup50*40*8 | 50 | 40 | 8 | 9 | 43 | ||
| شماره محصول | D | d | H | L1 | L2 | T |
|
شماره محصول | D | d | H | L1 | L2 | T |
| YXD11*5*8 | 11 | 5 | 8 | 9 | 10.5 | 1.5 | YXD55*47*10 | 55 | 47 | 10 | 12 | 13.5 | 1.5 | |
| YXD12*6*8 | 12 | 6 | 8 | 9 | 10.5 | 1.5 | YXD56 * 48 * 10 | 56 | 48 | 10 | 12 | 13.5 | 1.5 | |
| YXD14*8*8 | 14 | 8 | 8 | 9 | 10.5 | 1.5 | YXD60 * 48 * 14 | 60 | 48 | 14 | 16 | 18 | 2 | |
| YXD16*10*8 | 16 | 10 | 8 | 9 | 10.5 | 1.5 | YXD63*51*14 | 63 | 51 | 14 | 16 | 18 | 2 | |
| YXD18*12*8 | 18 | 12 | 8 | 9 | 10.5 | 1.5 | YXD65 * 53 * 14 | 65 | 53 | 14 | 16 | 18 | 2 | |
| YXD20*14*8 | 20 | 14 | 8 | 9 | 10.5 | 1.5 | YXD70*58*14 | 70 | 58 | 14 | 16 | 18 | 2 | |
| YXD22*16*8 | 22 | 16 | 8 | 9 | 10.5 | 1.5 | YXD75*63*14 | 75 | 63 | 14 | 16 | 18 | 2 | |
| YXD24*18*8 | 24 | 18 | 8 | 9 | 10.5 | 1.5 | YXD78*66*14 | 78 | 66 | 14 | 16 | 18 | 2 | |
| YXD25*19*8 | 25 | 19 | 8 | 9 | 10.5 | 1.5 | YXD80 * 68 * 14 | 80 | 68 | 14 | 16 | 18 | 2 | |
| YXD28*22*8 | 28 | 22 | 8 | 9 | 10.5 | 1.5 | YXD85 * 73 * 14 | 85 | 73 | 14 | 16 | 18 | 2 | |
| YXD30*22*10 | 30 | 22 | 10 | 12 | 13.5 | 1.5 | YXD90*78*14 | 90 | 78 | 14 | 16 | 18 | 2 | |
| YXD32*24*10 | 32 | 24 | 10 | 12 | 13.5 | 1.5 | YXD95*83*14 | 95 | 83 | 14 | 16 | 18 | 2 | |
| YXD35*27*10 | 35 | 27 | 10 | 12 | 13.5 | 1.5 | YXD100*88*14 | 100 | 88 | 14 | 16 | 18 | 2 |



























































































































نشانی
شماره 1 جاده رویچن، پارک صنعتی دونگلیوتینگ، منطقه چنگ یانگ، شهر چینگدائو، استان شاندونگ، چین
تلفن
پست الکترونیک