مهر و موم گرد و غبار هیدرولیک یکی از محصولات آب بندی است که مهر و موم های Ruichen می تواند تولید کند. شما می توانید در مورد مدل های مختلف در این نوع محصول بیاموزید و همچنین می توانید ترکیبات ساختاری را ایجاد کنید. در صورت لزوم ، می توانید برای کمک یا راه حل های سفارشی نیز با ما تماس بگیرید ، یا برای تهیه یک کتاب نمونه با ما تماس بگیرید.
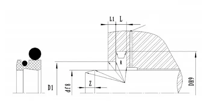
RCF01 و RCF02 مهر و موم های گرد و غبار دو طرفه هستند که از یک حلقه مهر و موم گرد و غبار دو لبه پر شده با مواد PTFE ضد سایش و یک حلقه لاستیکی O شکل تشکیل شده اند. حلقه O برای جبران پوشیدن حلقه PTFE نیروی از پیش بارگذاری را فراهم می کند. RCF01 برای موارد سنگین مانند محیط های گرد و غبار یا سرد و حرکتی با فرکانس بالا مناسب است. شیارهای تقسیم شده باید برای قطر شافت کمتر از 30 میلی متر استفاده شوند. RCF02 برای شرایط متقابل ، نوسان یا حرکت مارپیچ مناسب است.
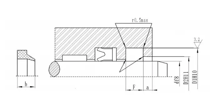
RCF03 یک حلقه گرد و غبار یک طرفه است که از یک حلقه اسکرابر گرد و غبار تک لپ پر از مواد PTFE و یک حلقه لاستیکی O شکل تشکیل شده است. عملکرد آن برای از بین بردن گرد و غبار و جلوگیری از آلودگی سیستم است. برای شرایط متقابل حرکت ، نوسان یا حرکات مارپیچی مناسب است.
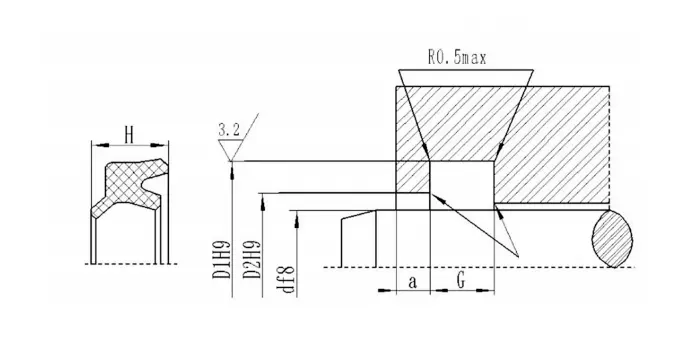
RCF04 و RCF05 حلقه های گرد و غبار دو لب هستند که از یک حلقه خاص به شکل با لب آب بندی و لب ضد گرد و غبار و دو حلقه O به عنوان عناصر پیش بارگذاری شده تشکیل شده اند که برای بهبود آب بندی کلی استفاده می شود. این ویژگی دارای طول عمر طولانی ، اصطکاک کم ، ویسکوزیته و قابلیت اطمینان بالا است. RCF04 عمدتاً در ماشین آلات کشاورزی ، پرس هیدرولیک ، دستگاه های قالب گیری تزریق ، سیستم های کنترل هیدرولیک ، لیفتراک ، دستگاه های نورد ، جرثقیل و ماشین آلات بارگیری و تخلیه استفاده می شود. RCF05 عمدتاً در مطبوعات هیدرولیک ، دستگاه های قالب گیری تزریق ، ماشین های نورد ، ماشین آلات متالورژی و غیره استفاده می شود. این خصوصاً برای مهر و موم های ضد گرد و غبار میله های پیستون با قطر بزرگ مناسب است.
حلقه گرد و غبار DHS یک حلقه گرد و غبار با عملکرد دوگانه است که هم اثر ضد گرد و غبار خوبی دارد و هم عملکرد فیلم روغن آب بندی خاص. این مواد پلی اورتان با کارایی بالا ، لاستیک نیتریل و Fluororubber هستند.
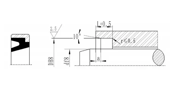
J شکل و JA به شکل برای میله های پیستون سیلندر هیدرولیک متقابل یا ساقه های دریچه برای خراش دادن گرد و غبار استفاده می شود. این مواد پلی اورتان (TPU/CPU) و لاستیک هستند. شیارها و ابعاد محصول و تحمل با JB/T6657-93 و JB/T6656-93 مطابقت دارند.
GSM از حلقه گرد و غبار برای جلوگیری از مخلوط کردن آلاینده های خارجی به سیستم هیدرولیک و سیستم آب بندی استفاده می شود و می تواند روغن هیدرولیک را بدون نشت به خارج ، به سیستم روغن کاری برگرداند و این اثر آب بندی کمکی را دارد. این مواد از لاستیک نیتریل ، فلوروروببر و پلی اورتان هستند.
از حلقه های گرد و غبار GP1 و GP6 برای جلوگیری از مخلوط کردن آلاینده ها به سیستم هیدرولیک و سیستم آب بندی استفاده می شود. این ماده NBR لاستیک نیتریل است و Fluororubber FKM در دمای بالا انتخاب می شود. GP6 عمدتاً برای آب بندی ضد گرد و غبار میله های پیستون قطر بزرگ استفاده می شود.
از حلقه گرد و غبار نوع AF برای جلوگیری از ورود گرد و غبار ، خاک ، ماسه و تراشه های فلزی به سیلندر هیدرولیک استفاده می شود. خطر خراش ناشی از آلاینده های خارجی تعبیه شده در عناصر کشویی را کاهش دهید. اثر عالی ضد گرد و غبار را می توان از طریق طراحی ویژه لب حلقه ضد گرد و غبار حاصل کرد. این حلقه ویژگی های مقاومت در برابر سایش قوی ، تغییر شکل دائمی کوچک و مقاومت در برابر تأثیر مکانیکی خارجی را دارد. حلقه ضد گرد و غبار را می توان با استفاده از تداخل بین قطر بیرونی شیار مهر و موم و فلز ، به طور محکم در موقعیت مناسب شیار باز محوری نصب کرد. تناسب گرگرفتگی است ، بنابراین لب در برابر آسیب های ناشی از دلایل بیرونی بسیار محافظ است. از دیدگاه مهندسی ، حلقه ضد گرد و غبار AF یک دستگاه آب بندی مناسب سیلندر است.
ویژگی ها و برنامه های کاربردی محصول:
مثال سفارش:
مدل سفارش RCF01-80-PTFE3-R01
RCF01-Model 80-Shaft Diameter PTFE3-General اصلاح شده PTFE R01 Code Material Material Material
لاستیک نیتریل (NBR)-R01 Fluororubber (FKM) -R02
مدل سفارش RCF02-80-PTFE3-R01
RCF02-MODEL 80-DIAMETER PTFE3-UNIVERSAL اصلاح شده PTFE R01 Code Material Material Material
لاستیک نیتریل (NBR)-R01 Fluororubber (FKM) -R02
مدل سفارش RCF03-80-PTFE3-R01
RCF03-MODEL 80-DIAMETER PTFE3-UNIVERSAL اصلاح شده PTFE R01 CODE MATERIAL MATERIAL
لاستیک نیتریل (NBR)-R01 Fluororubber (FKM) -R02
مدل سفارش RCF04-80-PTFE3-R01
RCF04-MODEL 80-DIAMETER PTFE3-UNIVERSAL اصلاح شده PTFE R01 Code Material Material Material
لاستیک نیتریل (NBR) -R01 Fluororubber (FKM) -R02
مدل سفارش RCF05-80-PTFE3-R01
قطر RCF05-MODEL 80-DIMARET
لاستیک نیتریل (NBR) -R01 Fluororubber (FKM) -R02
مدل سفارش: DHS-130*143*8/9.5-R01 D*D1*G/H
مهر و موم گرد و غبار از نوع J
مهر و موم گرد و غبار نوع
GSM
مهر و موم گرد و غبار GSM با شماره سفارش مشخص شده است ، به عنوان مثال: قطر 40-شافت GSM4048 D 48-Groove قطر پایین D
GP1
مثال علامت گذاری: GP1-70*82*4/8 Model-D*D*L/H
GP6
روش علامت گذاری: GP6-70*80.6*5.3/7 Model-D*D*L/H
از
DKB
مشخصات
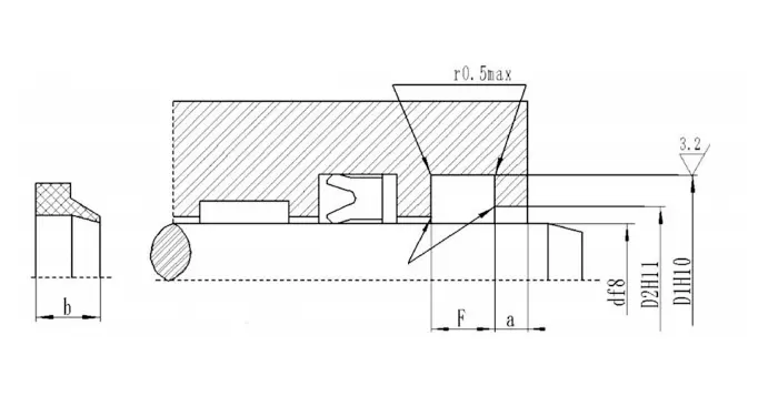
RCF01| دامنه قطر شافت d f8 |
قطر شیار D H9 |
عرض شیار L+0.2 |
قطر سوراخ باز د1H11 | عرض سوراخ باز ≥ |
گوشه های گرد ≤ |
قطر سیم حلقه دO |
| 19 ~ 39 | D+7.6 | 4.2 | D+1.5 | 3 | 0.8 | 2.65 |
| 40 ~ 69 | D+8.8 | 6.3 | D+1.5 | 3 | 0.8 | 2.65 |
| 70 ~ 139 | D+12.2 | 8.1 | D+2.0 | 4 | 0.8 | 3.55 |
| 399 ~ 140 | D+16.0 | 9.5 | D+2.5 | 5 | 1.5 | 5.30 |
| 400 ~ 649 | D+24.0 | 14.0 | D+2.5 | 8 | 1.5 | 7.00 |
| 1500 ~ 650 | D+27.3 | 16.0 | D+2.5 | 10 | 2.0 | 8.60 |
| دامنه قطر شافت d f8 |
قطر شیار D H9 |
عرض شیار L+0.2 |
قطر سوراخ باز د1H11 | عرض سوراخ باز ≥ |
گوشه های گرد ≤ |
قطر سیم حلقه دO |
| 4 ~ 11 | D+4.8 | 3.7 | D+1.5 | 2 | 0.4 | 1.80 |
| 12 ~ 64 | D+6.8 | 5.0 | D+1.5 | 2 | 0.7 | 2.65 |
| 250 ~ 65 | D+8.8 | 6.0 | D+1.5 | 3 | 1.0 | 3.55 |
| 251 ~ 420 | D+12.2 | 8.4 | D+2.0 | 4 | 1.5 | 5.30 |
| 650 ~ 421 | D+16.0 | 11.0 | D+2.0 | 4 | 1.5 | 7.00 |
| 1500 ~ 651 | D+20.0 | 14.0 | D+2.5 | 5 | 2.0 | 8.60 |
| دامنه قطر شافت d f8 |
قطر شیار Dh9 |
قطر D1 H11 |
عرض شیار L+0.2 |
عرض کلی L1 |
گوشه های گرد rmax |
طول محفظه زمین |
| 20 ~ 39.9 | D+7.6 | D+1 | 4.2 | 8.2 | 0.4 | 3 |
| 40 ~ 69.9 | D+8.8 | D+1.5 | 6.3 | 10.3 | 1.2 | 4 |
| 70 ~ 139.9 | D+12.2 | D+2.0 | 8.1 | 12.1 | 2 | 6 |
| 399.9 ~ 140 | D+16.0 | D+2.0 | 11.5 | 15.5 | 2 | 8 |
| 400 ~ 649.9 | D+24.0 | D+2.5 | 15.5 | 19.5 | 2 | 10 |
| 650 ~ 1000 | D+27.3 | D+2.5 | 18.0 | 23.0 | 2 | 12 |
| دامنه قطر شافت d f8 |
قطر شیار Dh9 |
قطر D1 H11 |
عرض شیار L+0.2 |
عرض L1 |
گوشه های گرد rmax |
طول محفظه زمین |
| 100 ~ 229 | D+22.2 | D+10.7 | 6.3 | 4.2 | 1.2 | 6 |
| 230 ~ 299 | D+24.2 | D+10.7 | 6.3 | 4.2 | 1.2 | 8 |
| 300 ~ 629 | D+33.0 | D+15.1 | 8.1 | 6.3 | 1.2 | 10 |
| 630 ~ 1000 | D+36.5 | D+15.1 | 9.5 | 6.3 | 2 | 12 |
| شماره محصول | d | D1 | H | G+0.3 | D2 | a |
| DHS 12 | 12 | 20 | 6 | 5 | 16.3 | 2 |
| DHS 14 | 14 | 22 | 6 | 5 | 18.3 | 2 |
| DHS 16 | 16 | 24 | 6 | 5 | 20.3 | 2 |
| DHS 18 | 18 | 26 | 6 | 5 | 22.3 | 2 |
| DHS 20 | 20 | 28 | 6 | 5 | 24.3 | 2 |
| DHS 22 | 22 | 30 | 6 | 5 | 26.3 | 2 |
| DHS 25 | 25 | 33 | 6 | 5 | 29.3 | 2 |
| DHS 28 | 28 | 36 | 6 | 5 | 32.3 | 2 |
| DHS 30 | 30 | 38 | 6.5 | 6 | 34 | 2 |
| DHS 32 | 32 | 40 | 6.5 | 6 | 36 | 2 |
| DHS 35 | 35 | 43 | 6.5 | 6 | 39 | 2 |
| DHS 38 | 38 | 46 | 6.5 | 6 | 42 | 2 |
| DHS 40 | 40 | 48 | 6.5 | 6 | 44 | 2 |
| DHS 45 | 45 | 53 | 6.5 | 6 | 49 | 2 |
| DHS 48 | 48 | 56 | 6.5 | 6 | 52 | 2 |
| DHS 50 | 50 | 58 | 6.5 | 6 | 54 | 2 |
| DHS 55 | 55 | 63 | 6.5 | 6 | 59 | 2 |
| DHS 56 | 56 | 64 | 6.5 | 6 | 60 | 2 |



























































نشانی
شماره 1 جاده رویچن، پارک صنعتی دونگلیوتینگ، منطقه چنگ یانگ، شهر چینگدائو، استان شاندونگ، چین
تلفن
پست الکترونیک