در میان مهر و موم های پرتحرک بهار ، عمدتا دو نوع وجود دارد: RC2055 و RC2056. Ruichen Seals سالهاست که در حال مطالعه و تولید محصولات مهر و موم است. با توجه به موقعیت های مختلف و نیازهای مختلف ، این طرح های دقیق تر را کامل کرده است.
RC2055 یک مهر و موم چرخان چرخان است ، RC2055-B یک مهر و موم دندانه دار چرخشی است و RC2055-C یک مهر و موم ترکیبی Y به شکل Y است. شیارهای این سه قابل تعویض هستند. آنها مهر و موم های با عملکرد بالا با فشار یک طرفه هستند که برای شفت های چرخان اعمال می شود. در میان آنها ، مهر و موم پانل چرخشی RC2055 از چشمه های استیل ضدزنگ و پلاستیک های با عملکرد بالا تشکیل شده است. هنگام استفاده از RC2055-B و RC2055-C ، لازم است که به طور منطقی مواد الاستومر تطبیق را انتخاب کنید.
RC2056 یک مهر و موم چرخان چرخان است و RC2056-B یک مهر و موم ترکیبی Y شکل است. شیارها را نیز می توان با هم تعویض کرد. همچنین برای استفاده در شفت های چرخان مناسب است. در میان آنها ، مهر و موم پانل چرخشی RC2056 از چشمه های استیل ضدزنگ و پلاستیک های با عملکرد بالا تشکیل شده است. هنگام استفاده از RC2056-B و لازم است که به طور منطقی مواد الاستومر تطبیق را انتخاب کنید.
ویژگی ها و برنامه های کاربردی محصول:
ویژگی های محصول:
با کارایی بالا: چشمه های استیل ضد زنگ و پلاستیک های با عملکرد بالا برای اطمینان از عملکرد و دوام آب بندی عالی ترکیب شده اند.
قابل تعویض: طراحی شیار محصولات موجود در این سری یکسان است ، که قابلیت تعویض و سازگاری انعطاف پذیر را با شرایط مختلف کار امکان پذیر می کند.
به طور گسترده ای قابل استفاده است: مناسب برای آب بندی فشار یک طرفه شفت های چرخان برای رفع نیازهای متنوع صنعتی.
الاستومرهای اختیاری: RC2055-B ، RC2055-C و RC2056-B از انتخاب مواد الاستومر مطابق با شرایط کار برای بهبود سازگاری پشتیبانی می کنند.
سناریوهای برنامه:
آب بندی فشار یک طرفه شفت های چرخان برای تجهیزات صنعتی ، ماشین آلات مهندسی ، سیستم های هیدرولیک و غیره مناسب است.
مواردی که آب بندی با عملکرد بالا لازم است ، مانند پتروشیمی ، تجهیزات انرژی ، ماشین آلات سنگین و غیره.
مزایای فنی:
چشمه های فولاد ضد زنگ برای اطمینان از اثر آب بندی طولانی مدت ، نیروی شعاعی پایدار را فراهم می کنند.
ترکیبی از پلاستیک های با عملکرد بالا و مواد الاستومر برای شرایط فشار بالا و سرعت کار با سرعت بالا مناسب است.
طراحی قابل تعویض شیار ، نصب و نگهداری را ساده می کند و هزینه استفاده را کاهش می دهد.
پیشنهادات استفاده:
با توجه به شرایط خاص کار ، مدل مهر و موم مناسب و مواد الاستومر را انتخاب کنید.
اطمینان حاصل کنید که شیار در حین نصب تمیز است تا از آسیب دیدن مهر و موم جلوگیری شود.
RC2055
شرایط کار قابل اجرا (مقادیر محدود نباید به طور همزمان ظاهر شوند)
| فشار (MPA) | درجه حرارت (℃) | سرعت (اماس) | واسطه | |||
| 35 ≤ | RC2055 | RC2055-B/C | RC2055 | RC2055-B | RC2055-C | تقریباً همه رسانه های مایع و گازی |
| -200 ~+250 | -35 ~+250 | <2m/s | <6m/s | <2m/s | ||
انتخاب مواد
1. مواد حلقه O تطبیق یافته را می توان انتخاب کرد: لاستیک نیتریل RO1 (NBR) ، Fluororubber RO2 (FKM) و غیره.
2. مواد حلقه مهر و موم: PTFE1 ، PTFE2 ، PTFE3 ، PTFE4 ، UPE ، PK1 ، PK2 و غیره.
3. بهار فولاد ضد زنگ: بهار شکل V شکل.
سفارش مثال
RC2055- 40-PTFE4+V قطر شافت 40 ، مواد حلقه مهر و موم شده PTFE4 ، بهار استیل ضد زنگ بهار V شکل است
قطر شافت RC2055-B-40-PTFE4+R02 40 ، مواد حلقه مهر و موم شده PTFE4 ، مطابق با حلقه O Fluororubber است
قطر شافت RC2055-C-40-PTFE4+R02 40 است ، مواد حلقه مهر و موم شده PTFE4 ، مطابق با حلقه O Fluororubber است
جدول پارامتر مشخصات (کلیه مشخصات موجود در محدوده پارامتر در دسترس است)
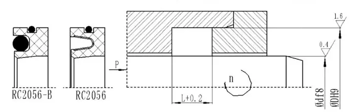
| دامنه قطر میله d f8 | قطر شیار Dh9 | قطر شیار D1H10 | عمق لبه L1 | عرض شیار سعادت | واردات چمفر k | ترخیص کالا از گمرک حداکثر | طول محفظه | حرف حداکثر | |
| 10 مگاپیکال | 20 مگاپیکال | ||||||||
| 5 ~ 19.9 | D+5 | D+9 | 0.85 -0.1 | 3.6 | 0.3 | 0.15 | 0.1 | Zmin = 0.8L | 0.8 |
| 20 ~ 39.9 | D+7 | D+12.5 | 1.35 -0.15 | 4.8 | 0.4 | 0.20 | 0.15 | 1.1 | |
| 400.9 ~ 40 | D+10.5 | D+17.5 | 1.8 -0.2 | 7.1 | 0.5 | 0.25 | 0.20 | 1.4 | |
| 1500 ~ 401 | D+14 | D+22 | 2.8 -0.2 | 9.5 | 0.5 | 0.30 | 0.25 | 1.6 | |
توجه: توصیه می شود که سختی سطح شافت چرخان باید HRC ≥ 58 باشد.
RC2056
شرایط کار قابل اجرا (مقادیر محدود نباید به طور همزمان ظاهر شوند)
| فشار (MPA) | درجه حرارت (℃) | سرعت (اماس) | واسطه | ||
| ≤2 | RC2056 | RC2056-B | RC2056 | RC2056-B | تقریباً همه رسانه های مایع و گازی |
| -200 ~+250 | -35 ~+250 | <14m/s | <6m/s | ||
انتخاب مواد
1. مواد حلقه O تطبیق یافته را می توان انتخاب کرد: لاستیک نیتریل RO1 (NBR) ، Fluororubber RO2 (FKM) و غیره.
2. مواد حلقه مهر و موم: PTFE1 ، PTFE2 ، PTFE3 ، PTFE4 ، UPE ، PK1 ، PK2 و غیره. 3. بهار فولاد ضد زنگ: بهار شکل V شکل.
سفارش مثال
RC2056-40*62*8-PTFE4+V D*D*L ، ماده حلقه آب بندی PTFE4 است ، و چشمه استیل ضد زنگ یک چشمه V شکل است RC2056-B-40*62*8-PTFE4+R02 D*D*L ، مواد حلقه آب بندی PTFE4 است ، و O-Ring مطابق با Fluororubber است



















نشانی
شماره 1 جاده رویچن، پارک صنعتی دونگلیوتینگ، منطقه چنگ یانگ، شهر چینگدائو، استان شاندونگ، چین
تلفن
پست الکترونیک