سری Seals Rotary Rotary Seals انواع مختلفی از محصولات با کارایی بالا ، از جمله RC2051 ، RC2052 ، RC2053 ، RC2054 ، RCX17 ، RCX18 ، RDI ، RDA ، RCS و RC2057 را پوشش می دهد که برای حرکات متقابل و روتاری در محیط هیدرولیک ، PNEUMATICS ، PNEUMATICS طراحی شده اند.
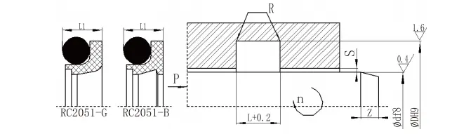
سری RC2051 از ترکیبی از حلقه های مهر و موم شده با PTFE پر شده و حلقه های O برای آب بندی یک طرفه استفاده می کند. دارای اصطکاک کم و ویژگی های آب بندی بالا است و به نوع استاندارد (RC2051-B) و نوع پر سرعت (RC2051-G) تقسیم می شود.
سری RC2052 و RC2054 مجهز به حلقه های مهر و موم مربع با شیارهای ذخیره سازی روغن هستند که برای آب بندی دو طرفه دو طرفه هیدرولیک مناسب هستند. ساختار جمع و جور است و از محیط فشار آب پشتیبانی می کند.
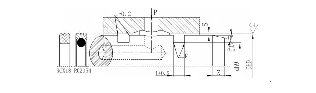
سری RCX17 و RCX18 از مواد PU با کارایی بالا ساخته شده است و طراحی مقطعی دندانه دار برای نصب آسان است. آنها برای مهر و موم های چرخشی و سوراخ چرخشی مناسب هستند و طراحی شیار قابل تعویض است.
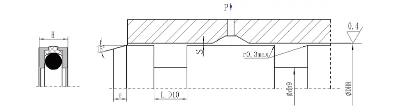
سری RDI و RDA از حلقه های آب بندی PTFE ، حلقه های پشتیبانی پلاستیکی L شکل و حلقه های O تشکیل شده اند که برای فشار زیاد ، کم سرعت ، آب بندی دو طرفه چرخشی ، مقاومت فشار بالا ، اصطکاک کم و عمر طولانی مناسب هستند.
مهر و موم روغن PTFE سری RCS شامل یک اسکلت فلزی و لب آب بندی PTFE است که برای شرایط کار پیچیده مناسب است.
مهر و موم کامل روغن PTFE سری RC2057 برای موارد خاصی طراحی شده است که مهر و موم های سنتی روغن نمی توانند برآورده شوند.
سری RC2065 یک مهر و موم فشار یک طرفه برای شفت های چرخان ، با یک ساختار ساده و نصب آسان فراهم می کند. این مواد می توانند لاستیک نیتریل (NBR) یا Fluororubber (FKM) باشند.
مهر و موم های مختلف Ruichen Seal از ویژگی های زندگی بالا ، اصطکاک کم ، آب بندی عالی و ساختار جمع و جور برخوردار است. آنها به طور گسترده ای در سیستم های هیدرولیک ، تجهیزات پنوماتیک ، تجهیزات فشار آب ، ماشین آلات چرخشی فشار قوی و تجهیزات صنعتی و غیره مورد استفاده قرار می گیرند و راه حل های آب بندی با کارایی بالا را برای شما فراهم می کنند.
ویژگی ها و برنامه های کاربردی محصول:
ویژگی های محصول:
عمر طولانی: مواد با کیفیت بالا و طراحی ساختاری عمر خدمات را گسترش می دهد.
اصطکاک کم: مواد PTFE و PU باعث کاهش مقاومت در حال اجرا و بهبود کارآیی می شوند.
آب بندی خوب: طراحی مخزن مخصوص ذخیره لب و روغن ، عملکرد آب بندی عالی را تضمین می کند.
ساختار جمع و جور: طراحی فضای کوچک ، مناسب برای انواع محیط های نصب.
به طور گسترده ای قابل استفاده است: مناسب برای هیدرولیک ، پنوماتیک ، فشار آب و فشار زیاد ، سرعت بالا ، سرعت کم و سایر شرایط کار.
مناطق کاربردی:
سیستم هیدرولیک ، تجهیزات پنوماتیک ، تجهیزات فشار آب.
ماشین آلات چرخشی با فشار بالا ، تجهیزات با سرعت کم سرعت.
تجهیزات صنعتی ، ماشین آلات مهندسی ، اتومبیل و هوافضا و سایر زمینه ها.
انتخاب مواد:
1. مواد حلقه O تطبیق یافته را می توان انتخاب کرد: R01 لاستیک نیتریل (NBR) ، R02 Fluororubber (FKM) و غیره.
2. مواد حلقه مهر و موم شده: مواد استاندارد PTFE4 ، سایر مواد اختیاری PTFE1 ، PTFE2 ، PTFE3 ، PTFE5.
RCX18 مواد: HPU.
نمودار ساختاری

مدل سفارش RC2052-80X91X4.2-PTE3-RO1 مدل-DXDXL-MADENTIAL Code Model RCX17-80x91x4.2-HPU Code-DXDXL-MATEN
مدل سفارش RC2054-80X69X4.2-PTE3-RO1 MODEL-D*D*L-MATENTIAL CODE ORDER MODEL RCX18-80X69X4.2-HPU MODEL-D*D*L-MATEN
ابعاد نصب RDI
| DF8 | Dh9 | L D10 | H | شکاف | |
| 0-10MPa | 10-36MPa | ||||
| 50-79 | D+10 | 5 | 4.5 | 0.4-0.3 | 0.3-0.25 |
| 80-109 | D+13.8 | 7.5 | 7 | 0.45-0.35 | 0.35-0.3 |
| 110-299 | D+20 | 10 | 9.5 | 0.55-0.45 | 0.45-0.35 |
| 300-600 | D+24 | 13 | 12.5 | 0.6-0.55 | 0.55-0.45 |
| > 600 | لطفا با شرکت ما مشورت کنید | ||||
طول محفظه
| دامنه قطر میله | طول Chamfer E≥ |
| 50-56 | 6 |
| 57-100 | 7 |
| 101-290 | 10 |
| 291-600 | 15 |
RDA ابعاد نصب
| DH8 | Dh9 | L D10 | H | شکاف | |
| 0-10MPa | 10-36MPa | ||||
| 50-124 | D-16 | 8 | 7.5 | 0.45-0.35 | 0.35-0.3 |
| 125-199 | D-20 | 10 | 9.5 | 0.55-0.45 | 0.45-0.35 |
| 200-600 | D-26 | 13 | 12.5 | 0.6-0.55 | 0.55-0.45 |
طول محفظه
| دامنه قطر میله | طول Chamfer E≥ |
| 50-95 | 7 |
| 96-190 | 10 |
| 191-300 | 12 |
| 301-600 | 15 |
مهر و موم روغن برق PT TYPE PT (مهر و موم روغن PTFE)
RC2057 نوع کامل روغن PT FE FE
مهر و موم روغن PTFE نوع RCS از قاب فلزی ، لب آب بندی PTFE و مهر و موم استاتیک داخلی تشکیل شده است. این ماده به یک نوع ، نوع B ، نوع C ، نوع D و غیره تقسیم می شود. RC2057 نوع مهر و موم کامل روغن PTFE به نوع و نوع B تقسیم می شود ، به خصوص برای مواردی که مهر و موم های سنتی روغن نمی توانند شرایط را برآورده کنند. ویژگی ها:
1. مقاومت در برابر خوردگی شیمیایی
2. دامنه دمای گسترده
3 مناسب برای روغن کاری کم و روغن کاری بدون روغن
4. اصطکاک کم برای دستیابی به حداقل مصرف برق
5. مناسب برای سرعت خط بالا
6. بدون مقاومت و مقاومت کم در برابر راه اندازی پس از خاموش کردن طولانی مدت
7. مناسب برای شفت های چرخشی که سخت نشده اند (انتخاب معقول لب PTFE)
8. مناسب برای مواردی با فشار بالاتر
ⅰ برنامه های معمولی:
کمپرسورهای چرخشی ، کمپرسورهای پیچ ، گیربکس/گیربکس ، دمنده ، موتورها ، پمپ های ابزار ، موتورهای هیدرولیک ، سانتریفیوژ و غیره.
ⅱ نیازهای سختی برای جفت گیری
سختی توصیه شده: HRC ≥ 58. سختی لازم مربوط به عوامل بسیاری است. شفت های چرخان نرم نیز در شرایط کم فشار و کم سرعت کاربرد دارند. صفحات لب PTFE6 برای فلزات نرم توصیه می شود.
ⅲ الزامات کیفیت برای جفت گیری
RA = 0.2-0.63 A Rz = 1-3um rmax = 1-4um
| شکل مقطعی | مدل | فشار (MPA) | درجه حرارت (℃) | سرعت (اماس) | واسطه |
|
RCS-A | 0.5 | -35 ~+200 | 40 | نفت ، گاز ، آب و غیره |
|
rcs-b | 2 | -35 ~+200 | 20 | نفت ، گاز ، آب و غیره |
|
RCS-C | 1 | -35 ~+200 | 20 | نفت ، گاز ، آب و غیره |
|
RCS-D | 2 | -35 ~+200 | 20 | نفت ، گاز ، آب و غیره |
|
RC2057-A | 0.5 | -35 ~+200 | 30 | تقریباً همه رسانه ها |
|
RC2057-B | 2 | -35 ~+200 | 20 | تقریباً همه رسانه ها |
ⅳ الگوی جریان مارپیچ قدرت سیال:
نوع RCS-D یک صفحه لب با ساختار الگوی جریان مارپیچ را برای بهبود توانایی آب بندی پذیرفته است. شافت چرخان فقط مجاز به چرخش در یک جهت است.
RC20658 ابعاد نصب
| مدل | DF8 | Dh9 | L D10 | بذله گو |
| RC2065a | 400-3000 | D+16.8 | 15.1 | 1.2 |
| RC2065 | 400-3000 | D+17.5 | ||
| > 3000 | لطفا با شرکت ما مشورت کنید | |||
طول محفظه
| دامنه قطر میله | طول Chamfer E≥ |
| 400-1000 | 15 |
| 1001-2000 | 20 |
| 2001-3000 | 25 |
مشخصات و ابعاد:
| d f8 استاندارد RC2051 | d f8 Light Load RC2051-Q | d f8 بار سنگین RC2051-Z | D H9 | L+0.2 | L1 | rحداکثر | Sحداکثر | Zحداقل | d0 | ||
| <10MPa | <20MPa | <40mpa | |||||||||
| - | 5 ~ 15.9 | - | D+4.5 | 3. 1 | 2.8 | 0.3 | 0.3 | 0.2 | 0. 15 | 3 | 1.8 |
| 5 ~ 15.9 | 16 ~ 38.9 | - | D+6.3 | 4.0 | 3.7 | 0.4 | 0.4 | 0.25 | 0. 15 | 4 | 2.65 |
| 16 ~ 38.9 | 39 ~ 107.9 | 5 ~ 15.9 | D+8.2 | 5.2 | 4.7 | 0.4 | 0.4 | 0.25 | 0.2 | 5 | 3.55 |
| 39 ~ 107.9 | 108 ~ 670.9 | 16 ~ 38.9 | D+11.7 | 7.6 | 7. 1 | 0.5 | 0.5 | 0.3 | 0.2 | 7 | 5.30 |
| 108 ~ 670.9 | 671 ~ 999 | 39 ~ 107.9 | D+15.5 | 9.6 | 8.9 | 0.6 | 0.6 | 0.35 | 0.25 | 10 | 7.00 |
| 671 ~ 999 | 1000 ~ 1599 | 108 ~ 670.9 | D+19.4 | 12. 1 | 11.3 | 0.7 | 0.7 | 0.5 | 0.3 | 12 | 8.60 |
| 1000 ~ 1599 | 1600 | 671 ~ 999 | D +22 | 14.8 | 13.5 | 0.8 | 0.8 | 0.6 | 0.4 | 15 | 10.0 |
| 1600 | - | 1000 ~ 1599 | D+26 | 17.8 | 16.3 | 1.0 | 1.0 | 0.7 | 0.6 | 20 | 12.0 |
توجه: 1. برای قطر شافت ≤30mm ، توصیه می شود از شیار باز استفاده کنید. نوع بار نور برای نصب در شیار بسته آسان تر است.
2. توصیه می شود که سختی سطح شافت چرخان HRC> 58 باشد.
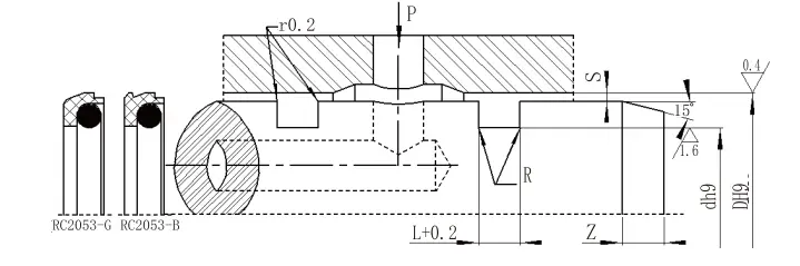
RC2053
| دامنه دیافراگم D H9 | قطر شیار D H9 | عرض شیار L+0.2 | ارتفاع مهر L1 | گوشه های گرد rحداکثر | ترخیص شعاعی S | محفظه زمین | قطر سیم حلقه D0 | ||
| <10MPa | <20MPa | <40mpa | |||||||
| 8 ~ 12 | D-4.5 | 3.1 | 2.8 | 0.3 | 0.3 | 0.2 | 0.15 | 3 | 1.8 |
| 13 ~ 24 | D-6.3 | 4 | 3.7 | 0.4 | 0.4 | 0.25 | 0.15 | 4 | 2.65 |
| 25 ~ 51 | D-8.2 | 5.2 | 4.7 | 0.4 | 0.4 | 0.25 | 0.2 | 5 | 3.55 |
| 52 ~ 127 | D-11.7 | 7.6 | 7.1 | 0.5 | 0.5 | 0.3 | 0.2 | 7 | 5.30 |
| 128 ~ 500 | D-15.5 | 9.6 | 8.9 | 0.6 | 0.6 | 0.35 | 0.25 | 10 | 7.00 |
| 501 ~ 1600 | D-9.4 | 12.1 | 11.3 | 0.7 | 0.7 | 0.5 | 0.3 | 12 | 8.6 |
توجه: 1. برای قطر شافت 30 میلی متر ، شیار باز توصیه می شود.
RC2052
| دامنه قطر شافت d f8 | قطر شیار D H9 | عرض شیار سعادت+0.2 | ترخیص شعاعی Sحداکثر | گوشه های گرد حرفحداکثر | محفظه Zحداقل | |
| 0 ~ 10MPA | 10 ~ 20MPa | |||||
| 6 ~ 18 | D+4.9 | 2.2 | 0.15 | 0.1 | 0.4 | 2 |
| 19 ~ 37 | D+7.5 | 3.2 | 0.2 | 0.15 | 0.6 | 3 |
| 38 ~ 199 | D+11.0 | 4.2 | 0.25 | 0.2 | 1.0 | 4 |
| 200 ~ 255 | D+15.5 | 6.3 | 0.3 | 0.25 | 1.3 | 5 |
| 256 ~ 649 | D+21.0 | 8.1 | 0.3 | 0.25 | 1.8 | 7 |
| 1500 ~ 650 | D+28.0 | 9.5 | 0.45 | 0.3 | 2.0 | 8 |
توجه: 1. برای قطر شافت 30 میلی متر ، شیار باز توصیه می شود.
2. برای فشارها> 30 مگاپاسکال ، منطقه ریشه مهر و موم از تحمل H8/F8 استفاده می کند.
RC2054| دامنه دیافراگم D H9 | قطر شیار D H9 | عرض شیار سعادت+0.2 | ترخیص شعاعی Sحداکثر | گوشه های گرد حرفحداکثر | محفظه Zحداقل | |
| 0 ~ 10MPA | 10 ~ 20MPa | |||||
| 8 ~ 39 | D-4.9 | 2.2 | 0.15 | 0.1 | 0.4 | 2 |
| 40 ~ 79 | D-7.5 | 3.2 | 0.2 | 0.15 | 0.6 | 3 |
| 80 ~ 132 | D-11.0 | 4.2 | 0.25 | 0.2 | 1.0 | 4 |
| 329 ~ 133 | D-15.5 | 6.3 | 0.3 | 0.25 | 1.3 | 5 |
| 330 ~ 669 | D-21.0 | 8.1 | 0.3 | 0.25 | 1.8 | 7 |
| 670 ~ 1500 | D-28.0 | 9.5 | 0.45 | 0.3 | 2.0 | 8 |
| مشخصات | مدل | فشار (MPA) | درجه حرارت (℃) | سرعت مرجع (اماس) |
مقدار PV مرجع mpa.m/s | رسانه ها |
|
RC2051-B | 70 ≤ (استاندارد) | -35 ~+100 (تطبیق O-Ring NBR) | <2 | ≤5 | روغن هیدرولیک ، امولسیون ، آب ، گاز و غیره روغن هیدرولیک ، امولسیون ، آب ، گاز و غیره |
| ≤30 (سرعت بالا) | -20 ~+200 (تطبیق O-Ring FKM) | <6 | ||||
|
RC051-G | 70 ≤ (استاندارد) | -35 ~+100 (تطبیق O-Ring NBR) | <2 | ≤5 | روغن هیدرولیک ، امولسیون ، آب ، گاز و غیره روغن هیدرولیک ، امولسیون ، آب ، گاز و غیره |
| ≤30 (سرعت بالا) | -20 ~+200 (تطبیق O-Ring FKM) | <6 | ||||
|
RC2053-B | 70 ≤ (استاندارد) | -35 ~+100 (تطبیق O-Ring NBR) | <2 | ≤5 | روغن هیدرولیک ، امولسیون ، آب ، گاز و غیره روغن هیدرولیک ، امولسیون ، آب ، گاز و غیره |
| ≤30 (سرعت بالا) | -20 ~+200 (تطبیق O-Ring FKM) | <6 | ||||
|
RC2053-G | 70 ≤ (استاندارد) | -35 ~+100 (تطبیق O-Ring NBR) | <2 | ≤5 | روغن هیدرولیک ، امولسیون ، آب ، گاز و غیره روغن هیدرولیک ، امولسیون ، آب ، گاز و غیره |
| ≤30 (سرعت بالا) | -20 ~+200 (تطبیق O-Ring FKM) | <6 | ||||
|
RC2052 | ≤40 | -35 ~+100 (تطبیق O-Ring NBR) | ≤2 | ≤2.5 | روغن هیدرولیک ، امولسیون ، آب ، گاز و غیره روغن هیدرولیک ، امولسیون ، آب ، گاز و غیره |
| -20 ~+200 (تطبیق O-Ring FKM) | ||||||
|
RCX17 | ≤20 | -35 ~+100 | 0.5 | - | روغن هیدرولیک ، امولسیون ، آب ، گاز و غیره |
|
RC2054 | ≤40 | -35 ~+100 (تطبیق O-Ring NBR) | ≤2 | - | روغن هیدرولیک ، امولسیون ، آب ، گاز و غیره روغن هیدرولیک ، امولسیون ، آب ، گاز و غیره |
| -20 ~+200 (تطبیق O-Ring FKM) | ||||||
|
RCX18 | ≤20 | -35 ~+100 | 0.5 | - | روغن هیدرولیک ، امولسیون ، آب ، گاز و غیره |
|
RDI | <36 | -35 ~+100 | <0.5 | - | روغن هیدرولیک ، امولسیون ، آب ، گاز و غیره |
|
RDA | <36 | -35 ~+100 | <0.5 | - | روغن هیدرولیک ، امولسیون ، آب ، گاز و غیره |
|
RCS-A | 0.5 | -35 ~+200 | 40 | ≤6 | روغن ، آب ، گاز و غیره |
|
rcs-b | 2 | -35 ~+200 | 20 | ≤1 | روغن ، آب ، گاز و غیره |
|
RCS-C | 1 | -35 ~+200 | 20 | ≤6 | روغن ، آب ، گاز و غیره |
|
RCS-D | 2 | -35 ~+100 | 20 | ≤6 | روغن ، آب ، گاز و غیره |
|
RC2057-A | 0.5 | -35 ~+200 | 30 | ≤6 | تقریباً همه رسانه ها |
|
RC2057-B | 2 | -35 ~+200 | 20 | ≤6 | تقریباً همه رسانه ها |
|
RC2065 | 1 | -35 ~+200 | 6 | ≤1 | روغن هیدرولیک ، امولسیون ، آب ، گریس و غیره |































































































نشانی
شماره 1 جاده رویچن، پارک صنعتی دونگلیوتینگ، منطقه چنگ یانگ، شهر چینگدائو، استان شاندونگ، چین
تلفن
پست الکترونیک