Qingdao Ruichen Sealing Technology Co., Ltd.
Qingdao Ruichen Sealing Technology Co., Ltd.
محصولات
X

مهر و موم روغن TC

مهر و موم لبه محور چرخشی که معمولاً به عنوان مهر و موم روغن شناخته می شود، در محفظه یاتاقان نصب می شود و نسبت به محور چرخان حرکت می کند. یک اسکلت فلزی پشتیبانی می کند و یک فنر پیش بار شعاعی را روی لبه آب بندی اعمال می کند تا از نشت روان کننده و نفوذ آلاینده های خارجی جلوگیری کند.

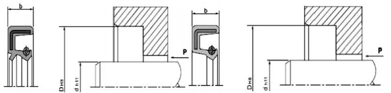
ساختار و الزامات نصب

1. مواد شفت: معمولاً فولاد کربن و فولاد ضد زنگ استفاده می شود. برای سرعت های بالا، آبکاری کروم روی سطح اعمال می شود، HRC40-45.

2. طراحی شفت و شیارهای دوار: سطح شفت باید صاف و بدون سوراخ باشد. علائم ماشینکاری مارپیچ می تواند یک اثر پمپاژ ایجاد کند که منجر به نشتی می شود. توصیه می شود که ناحیه نصب مهر و موم روغن تا زبری سطح Ra0.1-0.5μm آسیاب شود و با افزایش سرعت صاف تر شود. برای سهولت در نصب و جداسازی، شفت و شیارها باید با پخ یا لبه های گرد طراحی شوند به شکل 1 و 2 مراجعه کنید.

ارتفاع آب بندی

b

b1 (0.85xb)

میلی متر

b2(b+0.3)

میلی متر

r

حداکثر

7

5.95

7.3

0.5

8

6.80

8.3

0.5

10

8.50

10.3

0.5

12

10.30

12.3

0.7

15

12.75

15.3

0.7

20

17.00

20.3

0.7

شکل 1. طراحی پخ شیار


d

d3

R

<10

d-1.5

2

10 تا 20

d-2.0

2

20 تا 30

d-2.5

3

30 تا 40

d-3.0

3

40 تا 50

d-3.5

4

50 تا 70

d-4.0

4

70 تا 95

d-4.5

5

95 تا 130

d-5.5

6

130 تا 240

d-7.0

8

240 تا 500

d-11.0

12

500 تا 800

d-14.0

14

800 تا 1250

d-18.0

16

شکل 2 طراحی پخ شفت دوار


عوامل موثر بر عملکرد آب بند لبه شفت چرخشی 

ده ها عامل وجود دارد که بر اثر مهر و موم تأثیر می گذارد. علاوه بر خود مهر و موم روغن، مانند مواد و ساختار آن، عوامل دیگری مانند محیط، دما، فشار، روان‌کاری، سرعت و زبری سطح نیز مستقیماً بر اثر آب‌بندی تأثیر می‌گذارند و این عوامل اغلب با یکدیگر تعامل دارند. نمودارهای زیر فقط برای مرجع کاربر هستند.

شکل 3. اثر دما بر مهر و موم روغن


نصب و راه اندازی: نصب دقیق پیش نیاز عملکرد صحیح سیل روغنی است.

نمودار نصب (نصب حفره)

روش نصب صحیح

شرایط کاری قابل اجرا

روش نصب نادرست

این روش فقط زمانی قابل استفاده است که سطح انتهایی مهر و موم روغن و صفحه انتهایی حفره همسطح باشند. هنگامی که تجهیزات پرس به سرعت کار می کند، مهر و موم روغن باید به درستی قرار گیرد. در غیر این صورت، ممکن است ناهماهنگی رخ دهد.

 

این طرح برای شرایطی مناسب است که سطح انتهایی مهر و موم روغن پایین تر از وجه انتهایی حفره باشد. حتی با فشار دادن سریع، مهر و موم روغن همچنان می تواند به خوبی قرار گیرد. با این حال، این نوع فیکسچر فاقد موقعیت شعاعی است، بنابراین عمود محوری صفحه تخت و شفت فشار دستگاه پرس باید به دقت خاصی دست یابد.

این روش برای شرایطی مناسب است که سطح انتهایی مهر و موم روغن پایین تر از وجه انتهایی حفره باشد. هنگام فشار دادن سریع در تجهیزات، اطمینان از قرار گرفتن صحیح مهر و موم روغن بسیار مهم است. در غیر این صورت، ممکن است ناهماهنگی رخ دهد.


 

 


این روش فقط برای شرایط نگهداری یا نصب ساده که تجهیزات تحت فشار در دسترس نیست مناسب است. از آنجایی که در حین نصب نمی توان به پرس کاملا یکنواخت دست یافت، مشکلات مختلف نصب اجتناب ناپذیر است. در اصل برای جلوگیری از ناهماهنگی شعاعی در حین نصب طراحی شده است که می تواند مهر و موم روغن را تغییر شکل دهد، یا برای جلوگیری از آسیب به لاستیک قسمت جفت شدن مهر و موم روغن (دایره بیرونی) به دلیل مکث در هنگام نصب. بنابراین، این روش نصب به طور کلی توصیه نمی شود.

 

مهر و موم روغن TC/SC/TB/SB

هر دو از یک قاب فلزی، فنر و بدنه لاستیکی تشکیل شده اند. قاب فلزی پشتیبانی می کند و فنر نیروی شعاعی را به لبه آب بندی اعمال می کند. هر دو مدل TC و TB دارای لبه کمکی ضد گرد و غبار هستند، مناسب برای کاربردهایی که یک طرف آن حاوی محیط آب بندی و طرف دیگر حاوی گرد و غبار است. مدل های TB/SB دارای یک دایره بیرونی فلزی هستند که باعث می شود مهر و موم روغن در داخل حفره ایمن تر و دقیق تر باشد. با این حال، توانایی آب بندی دایره بیرونی برای محیط های گازی و ویسکوزیته کم محدود است. بنابراین توصیه می شود در حین نصب و استفاده از درزگیر به دایره بیرونی استفاده شود.

شکل مقطع

مدل

برنامه

فشار

دما

سرعت

متوسط

مواد

TC

آب بندی، ضد گرد و غبار

0.03 مگا پاسکال

-30~+160

20 متر بر ثانیه

روغن و گریس روان کننده

NBR/FKM + فولاد کربنی

SC

آب بندی

سل

آب بندی، ضد گرد و غبار

-30 ~ 100

25 متر بر ثانیه

آب، روغن روان کننده، گریس

NBR + فولاد کربن

SB

آب بندی

سفارش مدل TC-d*D*b

مشخصات

مشخصات

مشخصات

مشخصات

مشخصات

مشخصات

مشخصات

TC-6*17*3.5

TC-9*25*7

TC-10*30*7

TC-12*25*10

TC-13*25*7

TC-14*32*8

TC-15*30*7

TC-7*18*7

TC-10*18*7

TC-11*22*7

TC-12*26*7

TC-13*26*7

TC-14*32*10

TC-15*30*8

TC-8*18*7

TC-10*19*7

TC-I1*25*7

TC-12*28*7

TC-13*28*7

TC-14*35*7

TC-15*30*10

TC-8*20*7

TC-10*20*5

TC-11*30*10

TC-12*28*8

TC-13*30*8

TC-14*35*8

TC-15*32*7

TC-8*22*7

TC-10*20*7

TC-12*19*3

TC-12*30*7

TC-14*24*7

TC-14*40*7

TC-15*32*10

TC-8*22*8

TC-10*22*5

TC-12*20*7

TC-12*30*10

TC-14*25*7

TC-15*22*8

TC-15*35*7

TC-8*25*7

TC-10*22*7

TC-12*21*7

TC-12*32*7

TC-14*26*7

TC-15*24*7

TC-15*35*8

TC-8*25*8

TC-10*22*8

TC-12*22*5

TC-12*32*10

TC-14*27*7

TC-15*25*5

TC-15*35*10

TC-8*30*7

TC-10*22*10

TC-12*22.5*5.5

TC-12*35*7

TC-14*28*7

TC-15*25*7

TC-15*38*7

TC-9*16*5

TC-10*24*7

TC-12*22*7

TC-12*35*10

TC-14*28*8

TC-15*25*8

TC-15*38*8

TC-9*18*7

TC-10*25*5

TC-12*22*8

TC-12.7*22.22*5

TC-14*28*10

TC-15*26*7

TC-15*38*10

TC-9*19*7

TC-10*25*7

TC-12*24*6

TC-12.7*25.4*7

TC-14*29*7

TC-15*27*7

TC-15*40*8

TC-9*20*7

TC-10*25*10

TC-12*24*7

TC-12.7*26*8

TC-14*30*7

TC-15*27*8

TC-15*40*10

TC-9*22*7

TC-10*26*7

TC-12*25*7

TC-12.7*30*8

TC-14*30*10

TC-15*28*7

TC-15*42*7

TC-9*24*7

TC-10*28*7

TC-12*25*8

TC-13*23*7

TC-14*32*7

TC-15*28*10

TC-15*42*8

 




تگ های داغ: مهر و موم روغن TC
ارسال استعلام
اطلاعات تماس
  • نشانی

    شماره 1 جاده رویچن، پارک صنعتی دونگلیوتینگ، منطقه چنگ یانگ، شهر چینگدائو، استان شاندونگ، چین

  • پست الکترونیک

    info.sealing@ruichenseal.com

قیمت های رقابتی ، پشتیبانی فنی و پاسخ های سریع را بدست آورید. مشخصات خود را برای راه حل های آب بندی مناسب به Ruichen ارسال کنید. نمونه های رایگان موجود است.
X
ما از کوکی ها استفاده می کنیم تا تجربه مرور بهتری به شما ارائه دهیم، ترافیک سایت را تجزیه و تحلیل کنیم و محتوا را شخصی سازی کنیم. با استفاده از این سایت، شما با استفاده ما از کوکی ها موافقت می کنید. سیاست حفظ حریم خصوصی
رد کردن قبول کنید