Qingdao Ruichen Sealing Technology Co., Ltd.
Qingdao Ruichen Sealing Technology Co., Ltd.
محصولات
X

حلقه برف پاک کن

مهر و موم گرد و غبار ترکیبی دو لبه راه اندازی شده توسط Ruichen Seal (یک تولید کننده و تامین کننده معروف مهر و موم میله پیستون در چین) از یک حلقه آب بندی PTFE و یک حلقه O تشکیل شده است. دارای عملکرد دو طرفه محافظت در برابر گرد و غبار و عملکردهای جبران سایش خودکار، اصطکاک کم، عمر طولانی و سازگاری قوی است و به طور گسترده در سناریوهای مختلف حرکت صنعتی مانند رفت و برگشتی، نوسانی و مارپیچی استفاده می شود.

عملکرد و برنامه های کاربردی

مهر و موم برف پاک کن ترکیبی دو لبه یک سیل برف پاک کن دو طرفه است که از یک حلقه برف پاک کن دو لبه پر شده با PTFE و یک حلقه O تشکیل شده است. O-ring پیش بارگذاری را فراهم می کند و سایش حلقه PTFE را جبران می کند. برای حرکات رفت و برگشتی، نوسانی یا مارپیچی مناسب است.


شرایط عملیاتی

فشار Mpa

درجه حرارت درجه سانتی گراد

سرعت m/s

متوسط

-

-35 ~ 100 (منطبق با حلقه O-NBR)

6

روغن هیدرولیک، امولسیون، آب و غیره

-20 ~ 200 (منطبق با O-ring FKM)


نمونه سفارش

سفارش مدل RCF02-80-PTFE3-R01

RCF02 - مدل 80 - PTFE3 قطر شفت - PTFE RO1 اصلاح شده برای همه منظور - کد مواد لاستیکی منطبق

نیتریل (NBR) - R01، فلوئوروکربن (FKM) - RO2

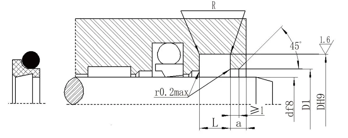
جدول پارامتر مشخصات (محصولات با هر اندازه در محدوده پارامتر قابل ارائه است)

محدوده قطر شفت d f8

قطر شیار D H9

عرض شیار L+0.2

قطر سوراخ باز

D1H11

عرض سوراخ را باز کنید a≥

گوشه های گرد R≤

قطر سیم اورینگ

d0

4 تا 11

d+4.8

3.7

d+1.5

2

0.4

1.80

12 تا 64

d+6.8

5.0

d+1.5

2

0.7

2.65

65 تا 250

d+8.8

6.0

d+1.5

3

1.0

3.55

251 تا 420

d+12.2

8.4

d+2.0

4

1.5

5.30

421 ~ 650

d+16.0

11.0

d+2.0

4

1.5

7.00

651 تا 1500

d+20.0

14.0

d+2.5

5

2.0

8.60


تگ های داغ: حلقه برف پاک کن
ارسال استعلام
اطلاعات تماس
  • نشانی

    شماره 1 جاده رویچن، پارک صنعتی دونگلیوتینگ، منطقه چنگ یانگ، شهر چینگدائو، استان شاندونگ، چین

  • پست الکترونیک

    info.sealing@ruichenseal.com

قیمت های رقابتی ، پشتیبانی فنی و پاسخ های سریع را بدست آورید. مشخصات خود را برای راه حل های آب بندی مناسب به Ruichen ارسال کنید. نمونه های رایگان موجود است.
X
ما از کوکی ها استفاده می کنیم تا تجربه مرور بهتری به شما ارائه دهیم، ترافیک سایت را تجزیه و تحلیل کنیم و محتوا را شخصی سازی کنیم. با استفاده از این سایت، شما با استفاده ما از کوکی ها موافقت می کنید. سیاست حفظ حریم خصوصی
رد کردن قبول کنید